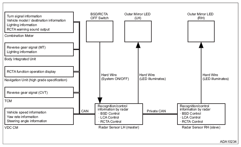
System Block Diagram
- Blind Spot Detection/Rear Cross Traffic Alert system consists of the following.
- There is a control ECM in the radar sensor main body, which performs the vehicle identification and the alert judgment control.
- The LH/RH radar sensors are identified as Master/Slave for control purposes. They are connected by the private CAN to execute the controls through mutual communication. The radar on the Master side receives the input from the vehicle CAN and the SRVD OFF switch, and information necessary for control can be obtained from other modules via the vehicle CAN.
- The outer mirror LED is directly driven by the signal from the radar sensor.