LEMON Manuals: Even more car manuals for everyone
Home >> Subaru >> 2019 >> Outback 2.5i >> Repair and Diagnosis >> Engine Performance >> Engine Control Systems >> Fuel Injection System (2.5L) >> Intake Manifold Assembly >> Installation

Intake Manifold Assembly: Installation

  1. Install the intake manifold assembly onto cylinder head.
    NOTE:
    • Use a new gasket.
    • Be careful not to let the engine wiring harness be caught by the parts.

    Tightening torque: 

    25 N.m (2.5 kgf-m, 18.4 ft-lb)

    G10262127Courtesy of SUBARU OF AMERICA, INC.
  2. Connect the fuel delivery tube and evaporation hose.
    1. Connect the evaporation hose (C) to the fuel pipe assembly.
    2. Connect the connector of the fuel delivery tube (B) to the fuel pipe assembly, and secure the fuel delivery tube using clip (A).
      CAUTION:
      • Check that there is no damage or dust on the quick connector. If necessary, clean the seal surface of the pipe.
      • Make sure that the quick connector is securely connected.
    G10262129Courtesy of SUBARU OF AMERICA, INC.
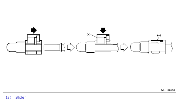
  3. Connect the fuel delivery pipe to the fuel pipe LH.
    CAUTION:
    • Check that there is no damage or dust on the quick connector. If necessary, clean the seal surface of the pipe.
    • When connecting the quick connector, make sure to insert it all the way in before locking the slider.
    • When it is difficult to lock the slider, check that the connector is fully inserted.
    • After locking the slider, check again that the quick connector is securely connected.
    NOTE: Connect the quick connector as shown in the figure.
    G13246690Courtesy of SUBARU OF AMERICA, INC.
  4. Connect the connector (A) to the tumble generator valve, and connect the connector (B) to the fuel injector #4.
    G10262125Courtesy of SUBARU OF AMERICA, INC.
  5. Install the intake manifold protector LH and secure the engine wiring harness with the tie-wrap (A).
    NOTE: Use a new tie-wrap.

    Tightening torque: 

    6.4 N.m (0.7 kgf-m, 4.7 ft-lb)

    G12403250Courtesy of SUBARU OF AMERICA, INC.
  6. Install the clip (A) securing the engine wiring harness to the intake manifold assembly, and connect the connector (B) to the tumble generator valve and connect the connector (C) to the fuel injector #3.
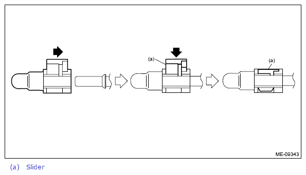
  7. Connect the fuel delivery pipe to the fuel pipe RH.
    CAUTION:
    • Check that there is no damage or dust on the quick connector. If necessary, clean the seal surface of the pipe.
    • When connecting the quick connector, make sure to insert it all the way in before locking the slider.
    • When it is difficult to lock the slider, check that the connector is fully inserted.
    • After locking the slider, check again that the quick connector is securely connected.
    NOTE: Connect the quick connector as shown in the figure.
    G13246693Courtesy of SUBARU OF AMERICA, INC.
    G10262122Courtesy of SUBARU OF AMERICA, INC.
  8. Install the intake manifold protector RH.

    Tightening torque: 

    6.4 N.m (0.7 kgf-m, 4.7 ft-lb)

    G10262120Courtesy of SUBARU OF AMERICA, INC.
  9. Connect the connector to the EGR control valve.
    G10262119Courtesy of SUBARU OF AMERICA, INC.
  10. Install the air cleaner case (rear) together with the air cleaner element. Ref. to INTAKE (INDUCTION) (H4DO)>AIR CLEANER CASE>INSTALLATION .
  11. Secure the bulkhead wiring harness with clip (B) and connect the connector (A) to the mass air flow and intake air temperature sensor.
    G10262137Courtesy of SUBARU OF AMERICA, INC.
  12. Install the air intake duct. Ref. to INTAKE (INDUCTION) (H4DO)>AIR INTAKE DUCT>INSTALLATION .
  13. Connect the brake booster vacuum hose (A) and the connector (B) of the purge control solenoid valve.
    G10262117Courtesy of SUBARU OF AMERICA, INC.
  14. Tighten the bolt securing the EGR cooler to the EGR control valve.
    NOTE: Use a new gasket.

    Tightening torque: 

    T1: 9 N.m (0.9 kgf-m, 6.6 ft-lb)

  15. Tighten the bolts holding the EGR cooler to the cylinder head RH.

    Tightening torque: 

    T2: 6.4 N.m (0.7 kgf-m, 4.7 ft-lb)

    G10262139Courtesy of SUBARU OF AMERICA, INC.
  16. Connect the PCV hose (A) to intake manifold assembly.
  17. Connect the connector (B) to the manifold absolute pressure sensor.
  18. Connect the connector (C) to throttle body.
    G10262115Courtesy of SUBARU OF AMERICA, INC.
  19. Connect the preheater hoses to the throttle body.
    G10262114Courtesy of SUBARU OF AMERICA, INC.
  20. Install the air intake boot. Ref. to INTAKE (INDUCTION) (H4DO)>AIR INTAKE BOOT>INSTALLATION .
  21. Connect the ground terminal to battery sensor. Ref. to REPAIR CONTENTS>NOTE>BATTERY .
  22. Fill engine coolant. Ref. to COOLING (H4DO)>ENGINE COOLANT>REPLACEMENT>FILLING OF ENGINE COOLANT .