LEMON Manuals: Even more car manuals for everyone
Home >> Subaru >> 2019 >> Ascent Base >> Repair and Diagnosis >> Transmission >> Transmission Control Systems >> Select Cable >> Adjustment

Select Cable: Adjustment

  1. Release the shift lock using a screwdriver, etc. to shift the select lever to the "N" range.
    G13199468Courtesy of SUBARU OF AMERICA, INC.
  2. Lift up the vehicle.
  3. Remove the center exhaust pipe (rear). Ref. to EXHAUST (H4DOTC)>CENTER EXHAUST PIPE>REMOVAL>CENTER EXHAUST PIPE (REAR) .
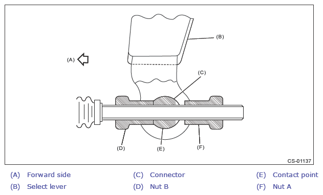
  4. Loosen the nuts on both sides.
    G13199879Courtesy of SUBARU OF AMERICA, INC.
  5. Turn the nut B until it lightly touches the connector.
    G13199880Courtesy of SUBARU OF AMERICA, INC.
  6. Set a spanner wrench to the nut B so that it does not rotate, and then tighten the nut A.

    Tightening torque:

    7.5 N.m (0.8 kgf-m, 5.5 ft-lb)

    G13199881Courtesy of SUBARU OF AMERICA, INC.
  7. After the completion of adjustment, confirm that the select lever operates normally at all ranges.
  8. Install the center exhaust pipe (rear). Ref. to EXHAUST (H4DOTC)>CENTER EXHAUST PIPE>INSTALLATION>CENTER EXHAUST PIPE (REAR) .