LEMON Manuals: Even more car manuals for everyone
Home >> Subaru >> 2019 >> Ascent Base >> Repair and Diagnosis (Single Page) >> Engine Performance >> System >> Engine Control System (Diagnostics) (2 Of 4) >> Diagnostic Procedure with Diagnostic Trouble Code (DTC) >> DTC P0455: EVAP System (CPC) Leak Detected (Large Leak) >> Diagnostic Method

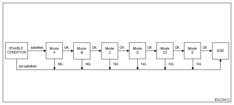
Diagnostic Method

G13202512Courtesy of SUBARU OF AMERICA, INC.
Mode Explanation of Mode DTC Diagnosis time
A Vacuum pump operation confirmation and characteristics stability P2404 7 s or less
B Measurement of reference pressure for setting the target negative pressure P2404 350 s or less
C Switching valve operation confirmation P2404 12 s or less
D Clogging of pipe diagnosis and leak pressure measurement P1451 1100 s or less
D2 Check valve open stuck P04AE 30 s or less
E 0.04 inch leak pressure measurement P0455 50 s or less
0.02 inch leak pressure measurement P0456
Reference pressure measurement for judgment P2401
G13202513Courtesy of SUBARU OF AMERICA, INC.

<Mode A (Vacuum pump operation confirmation and characteristics stability)> 

Purpose: Detect the vacuum pump operation trouble.

Judge as NG when the following conditions are established.

Judge as OK if the following conditions are not established, and warm up for five minutes to stabilize the vacuum pump characteristics.

JUDGMENT VALUE SPECIFICATION

Malfunction Criteria Threshold Value DTC
Pressure sensor output value More than -224 Pa (-1.7 mmHg, -0.1 inHg) P2404

<Mode B (Measurement of reference pressure for setting the target negative pressure)> 

Judgment 1

Purpose: Judge the reference pressure stability.

Judge as NG when the following conditions are established.

Judgment 2, 3

Purpose: Judge whether the reference pressure is within the normal range, and detect the vacuum pump and orifice malfunctions.

Judge as NG when the following conditions are established.

JUDGMENT VALUE SPECIFICATION

Malfunction Criteria Threshold Value DTC
<Judgment 1>
| Pressure sensor maximum output value - Pressure sensor minimum output value| or
<Judgment 2>
Reference pressure for setting the target
negative pressure
or
<Judgment 3>
Reference pressure for judgment
More than 493 Pa (3.7 mmHg,
0.1 inHg)
Less than value of Map2
More than value of Map3
P2404
P2404
P2404
BAROMETRIC PRESSURE SPECIFICATION - MAP 2

Barometric pressure (kPa (mmHg, inHg)) 70 (525, 20.7) 80 (600, 23.6) 90 (675, 26.6) 100 (750, 29.5)
Reference pressure for setting the target negative pressure (kPa (mmHg, inHg)) -3.97 (-30, -1.2) -4.08 (-31, -1.2) -4.19 (-31, -1.2) -4.29 (-32, -1.3)
BAROMETRIC PRESSURE SPECIFICATION - MAP 3

Barometric pressure kPa (mmHg, inHg) 70 (525, 20.7) 80 (600, 23.6) 90 (675, 26.6) 100 (750, 29.5)
Reference pressure for setting the target negative pressure (kPa (mmHg, inHg)) -0.94 (-7.1, -0.3) -1.05 (-7.9, -0.3) -1.16 (-8.7, -0.3) -1.26 (-9.5, -0.4)

<Mode C (Switching valve operation confirmation)> 

Purpose: Measure the pressure increase when switching valve is changed from open to close, and detect the stuck to open/close malfunctions of the switching valve.

Judge as NG when the following conditions are established.

JUDGMENT VALUE SPECIFICATION

Malfunction Criteria Threshold Value DTC
Pressure sensor output value - Reference pressure for setting the target negative pressure Less than 224 Pa (1.7 mmHg, 0.1 inHg) P2404

<Mode D (Clogging of pipe diagnosis and leak pressure measurement)> 

  1. Clogging of pipe. 

    Purpose: Measure the time required for the evaporative emission system to reach the target negative pressure by the vacuum pump, and detect the clogging of pipe trouble.

    Judge as clogging of pipe malfunction if the evaporative emission system reaches to the target negative pressure within the specified time.

  2. Leak pressure measurement. 

    Purpose: Measure the pressure (leak pressure) when the evaporative emission system becomes the negative pressure by the vacuum pump.

    Store the pressure as a leak pressure while the following conditions are met.

JUDGMENT VALUE SPECIFICATION

Malfunction Criteria Threshold Value DTC
<Phase D>
Time required to reach to the target negative pressure
<Phase D2>
Reference pressure for judgment of the target negative pressure
<Large leak (0.04 inch)>
Leak pressure
<Very small leak (0.02 inch)>
Leak pressure
40.9 seconds or less
More than -0.179 kPa (-1.478 mmHg, -0.058 inHg)
Value of Map6 or more
More than 0.018 inch reference
pressure
and
Less than value of Map6
P1451
P04AE
P0455
P0456
REFERENCE PRESSURE SPECIFICATION - MAP 6

Reference pressure (Pa) -4856 -4000 -2750 -1500 -824
Threshold Value (Pa) -1785 -1463 -991 -520 -265

Formula for threshold value = Reference pressure x 0.377 - 0.341

<Mode E (Measurement of reference pressure for judgment)> 

Judgment 1

Purpose: Judge the reference pressure stability.

Judge as NG when the following conditions are established.

Judgment 2

Purpose: Judge whether the reference pressure is within the normal range, and detect the vacuum pump and orifice malfunctions. Judge the vacuum pump performance stability.

Judge as NG when the following conditions are established.

Judgment 3

Purpose: Judge the presence of evaporative emission system leak.

Judge as NG when the following conditions are established.

JUDGMENT VALUE SPECIFICATION

Malfunction Criteria Threshold Value DTC
<Judgment 1>
| Pressure sensor maximum output value - Pressure sensor minimum output value| or
<Judgment 2>
Reference pressure for judgment
or
<Judgment 3>
More than 493 Pa (3.7 mmHg, 0.1 inHg)
Less than value of Map4
or
More than value of Map5
P2404
P2404
| Reference pressure for setting the target negative pressure - Reference pressure for judgment| More than 941 Pa (7.1 mmHg, 0.3 inHg) P2404
BAROMETRIC PRESSURE SPECIFICATION - MAP 4

Barometric pressure (kPa (mmHg, inHg)) 70 (525, 20.7) 80 (600, 23.6) 90 (675, 26.6) 100 (750, 29.5)
Reference pressure for judgment (kPa (mmHg, inHg)) -4.54 (-34.1, -1.3) -4.64 (-34.8, -1.4) -4.75 (-35.6, -1.4) -4.86 (-36.5, -1.4)
BAROMETRIC PRESSURE SPECIFICATION - MAP 5

Barometric pressure (kPa (mmHg, inHg)) 70 (525, 20.7) 80 (600, 23.6) 90 (675, 26.6) 100 (750, 29.5)
Reference pressure for judgment (kPa (mmHg, inHg)) -0.82 (-6.15, -0.2) -0.93 (-6.98, -0.3) -1.04 (-7.8, -0.3) -1.14 (-8.55, -0.3)

Time needed for diagnosis:  27 min

Confirm the malfunction at next engine start.

Malfunction indicator light illumination:  Illuminates when malfunction occurs in 2 continuous driving cycles.