LEMON Manuals: Even more car manuals for everyone
Home >> Subaru >> 2018 >> Outback 2.5i >> Repair and Diagnosis >> Engine Performance >> Engine Control Systems >> Engine Control/Fuel System (H4DO) >> Intake Manifold Assembly >> Assembly

Intake Manifold Assembly: Assembly

  1. Install the fuel pipe assembly to the intake manifold assembly.

    Tightening torque: 

    6.4 N.m (0.7 kgf-m, 4.7 ft-lb)

    G10262145Courtesy of SUBARU OF AMERICA, INC.
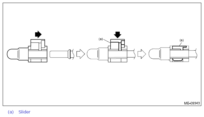
  2. Install the fuel delivery pipe to the intake manifold assembly.
    CAUTION:
    • Check that there is no damage or dust on the quick connector. If necessary, clean the seal surface of the pipe.
    • When connecting the quick connector, make sure to insert it all the way in before locking the slider.
    • When it is difficult to lock the slider, check that the connector is fully inserted.
    • After locking the slider, check again that the quick connector is securely connected.
    NOTE: Connect the quick connector as shown in the figure.
    G12403273Courtesy of SUBARU OF AMERICA, INC.
    G10262143Courtesy of SUBARU OF AMERICA, INC.
  3. Install the manifold absolute pressure sensor. Ref. to FUEL INJECTION (FUEL SYSTEMS) (H4DO)>Manifold Absolute Pressure Sensor>INSTALLATION 
  4. Install the purge control solenoid valve. Ref. to EMISSION CONTROL (AUX. EMISSION CONTROL DEVICES) (H4DO)>Purge Control Solenoid Valve>INSTALLATION
  5. Install the EGR control valve. Ref. to EMISSION CONTROL (AUX. EMISSION CONTROL DEVICES) (H4DO)>EGR Control Valve>INSTALLATION
  6. Install the EGR pipe. Ref. to EMISSION CONTROL (AUX. EMISSION CONTROL DEVICES) (H4DO)>EGR Pipe>INSTALLATION
  7. Install the throttle body. Ref. to FUEL INJECTION (FUEL SYSTEMS) (H4DO)>Throttle Body>INSTALLATION