LEMON Manuals: Even more car manuals for everyone
Home >> Subaru >> 2018 >> Forester 2.5i Limited >> Repair and Diagnosis >> Engine Performance >> Engine Control Systems >> Engine Control/Fuel Injection System (H4DO) >> Fuel Sub Level Sensor >> Inspection

Fuel Sub Level Sensor: Inspection

  1. Check that the fuel sub level sensor has no damage.
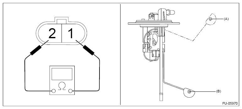
  2. Measure the fuel sub level sensor float position.
    G12505506Courtesy of SUBARU OF AMERICA, INC.
    Float position Standard
    FULL to Datum point (A) 5.31±3.5 mm (0.209±0.138 in)
    EMPTY to Datum point (B) 160.6±3.5 mm (6.32±0.138 in)
  3. Measure the resistance between fuel sub level sensor terminals.
    G12505507Courtesy of SUBARU OF AMERICA, INC.
    Float position Terminal No. Standard
    FULL (A) 1 and 2 8.7±1.0 Ω
    EMPTY (B) 270.9±4.0 Ω