LEMON Manuals: Even more car manuals for everyone
Home >> Subaru >> 2017 >> WRX Base >> Repair and Diagnosis >> External Pages >> Different variant/trim >> Section 17 (Continuously Variable Transaxle (CVT) (Service Information)) >> Transfer Reduction Driven Gear >> Disassembly

Transfer Reduction Driven Gear: Disassembly

WARNING: This page is about a different variant/trim than selected.
  1. Remove the snap ring from transfer reduction driven gear.
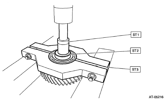
  2. Using the ST, remove the ball bearing (large) from transfer reduction driven gear.

    ST1 899864100 REMOVER

    ST2 398497701 SEAT

    ST3 498077600 REMOVER

    Fig 1: Removing Ball Bearing (Large) From Transfer Reduction Driven Gear
    G06654534Courtesy of SUBARU OF AMERICA, INC.
  3. Using the ST, remove the ball bearing (small) from transfer reduction driven gear.

    ST1 899864100 REMOVER

    ST2 398497701 SEAT

    ST3 18720AA000 REMOVER

    Fig 2: Removing Ball Bearing (Large) From Transfer Reduction Driven Gear
    G06654534Courtesy of SUBARU OF AMERICA, INC.