LEMON Manuals: Even more car manuals for everyone
Home >> Subaru >> 2017 >> WRX Base >> Repair and Diagnosis >> External Pages >> Different variant/trim >> Section 17 (Continuously Variable Transaxle (CVT) (Service Information)) >> General Description >> Preparation Tool >> Special Tool

Special Tool

WARNING: This page is about a different variant/trim than selected.
ILLUSTRATION TOOL NUMBER DESCRIPTION REMARKS
G05002430
41099AC000 ENGINE SUPPORT ASSY Used for supporting engine.
G07913243
18801AA000 OIL PRESSURE GAUGE ASSY Used for measuring the secondary pressure (line pressure).
G06651903
18658AA020 WRENCH COMPL RETAINER Used for removing and installing the differential side retainer.
G07913245
18681AA000 PRESSURE GAUGE ADAPTER Used for measuring the secondary pressure (line pressure) and transfer clutch hydraulic pressure.
NOTE: Used together with the genuine O-ring (part No. 806911080).
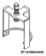
G06654298
18769AA000 EXPANDER PULLEY Used for removing and installing the secondary pulley assembly.
G05002427
498897700 OIL PRESSURE ADAPTER SET Used for measuring the secondary pressure (line pressure) hydraulic pressure.
G05032873
34099AC020 ADAPTER HOSE B Used for measuring the transfer clutch hydraulic pressure.
NOTE: Used with genuine union screw (Part No. 801914010) and gasket (Part No. 803914060).
G05032872
34099AC010 ADAPTER HOSE A Used for measuring the transfer clutch hydraulic pressure.
G09476389
73099SG000 SPECIAL TOOL CONDENSER Used for installing the transfer clutch pressure test plug.
G10218480
18270AA040 SOCKET Used for installing the transfer clutch pressure test plug.
G05002425
498575400 OIL PRESSURE GAUGE ASSY Used for measuring the transfer clutch hydraulic pressure.
G04997553
498277200 STOPPER SET
  • Used for removing and installing automatic transmission assembly to engine.
  • Used for preventing the torque converter from dropping off.
G05002431
398527700 PULLER ASSY
  • Used for removing the extension case oil seal.
  • Used for removing the roller bearing of the primary pulley and secondary pulley.
  • Used for removing the bearing of reduction driven gear.
  • Used for removing the differential side retainer bearing outer race.
G05003217
18760AA000 CLAW
  • Used for removing ball bearing of front reduction driven gear.
  • Used together with PULLER ASSY (398527700).
G05002432
498057300 INSTALLER Used for installing the extension case oil seal.
G05003188
18632AA000 TRANSMISSION STAND Used for disassembling and assembling the transmission.
G05002439
498255400 PLATE Used for measuring the backlash of hypoid gear.
G05002441
498247001 MAGNET BASE
  • Used for measuring the backlash of differential bevel pinion.
  • Used for measuring the backlash of hypoid gear.
  • Used together with DIAL GAUGE (498247100).
G05002442
498247100 DIAL GAUGE
  • Used for measuring the backlash of differential bevel pinion.
  • Used for measuring the backlash of hypoid gear.
  • Used together with MAGNET BASE (498247001).
G05002460
18675AA000 DIFFERENTIAL SIDE OIL SEAL INSTALLER Used for installing the differential side retainer oil seal.
G09487703
18762AA001 COMPRESSOR SPECIAL TOOL
  • Used for disassembling and installing the multi-plate clutch piston for shifting.
  • COMPRESSOR SPECIAL TOOL (18762AA000) can also be used. (Except for transfer clutch piston)
G05022167
18765AA000 COMPRESSOR SUPPORT Used for disassembling and installing the multiplate clutch for shifting.
G05022166
18763AA000 COMPRESSOR SHAFT Used for disassembling and installing the multiplate clutch for shifting.
G05002461
28399SA010 OIL SEAL PROTECTOR Used for protecting oil seal when installing front drive shaft.
G05022160
18667AA010 HOLDER
  • Used for removing and installing the drive pinion lock nut.
  • Used as a holder to rotate gear when checking tooth contact.
G07669228
18270KA010 SOCKET (E16) Used for removing and installing the center support COMPL.
G06338208
18270KA020 SOCKET (E20)
  • Used for removing and installing the hypoid driven gear.
  • Used for removing and installing the drive pinion shaft retainer.
G05002462
398497701 SEAT Used for removing and installing the ball bearing.
G05002948
398177700 INSTALLER
  • Used for removing and installing the ball bearing and tapered roller bearing.
  • Used for installing the parking gear.
G05002448
398643600 GAUGE Used for measuring the total end play, extension end play and drive pinion height.
G05002935
899864100 REMOVER Used for removing and installing the ball bearing.
G05002433
498077000 REMOVER
  • Used for removing ball bearing of front reduction drive gear.
  • Used for removing the inner bearing inner race of the drive pinion shaft.
  • Used for removing the differential taper roller bearing.
G05003190
18657AA010 INSTALLER Used for installing the oil seal of inhibitor switch.
G05003220
18657AA020 OIL SEAL INSTALLER Used for installing the oil seal.
G05003209
18621AA000 ADAPTER WRENCH Used for removing and installing the drive pinion shaft lock nut.
G05003203
18651AA000 INSTALLER Used for installing the bearing of front reduction drive gear.
G05003213
18720AA000 REMOVER Used for removing ball bearing of reduction driven gear.
G07665421
498497300 CRANKSHAFT STOPPER Used for stopping the drive plate rotation when removing and installing the drive plate.
G05032323
20299AG010 BASE Used for installing the bearing on primary pulley side.
G07913281
399513600 INSTALLER
  • Used to install the rear drive shaft ball bearing.
  • Used for removing the bearing of the oil pump chain sprocket.
G05002445
499267300 STOPPER PIN Used for adjusting the inhibitor switch.
G05002922
499277100 BUSHING 1-2 INSTALLER
  • Used for installing the front differential taper roller bearing.
  • Used for removing and installing the transfer reduction drive gear.
  • Used for installing the ball bearing of the transfer reduction drive gear.
  • Used for installing the oil seal.
  • Used for installing the ball bearing of the transfer reduction driven gear.
G05002923
499277200 INSTALLER
  • Used for installing the inner bearing inner race of drive pinion shaft.
  • Used for installing the reduction driven gear.
G05022173
499575400 GAUGE Used for measuring height of end play.
G06654336
499575600 GAUGE Used for measuring height of end play.
G05002451
398744300 PISTON GUIDE Used for measuring height of end play.
G05002446
499787700 WRENCH Used for measuring the differential pinion shaft backlash.
G05002924
499757002 INSTALLER Used for installing the bearing of front reduction driven gear.
G05022178
18767AA000 BEARING REMOVER Used for removing the reduction driven gear bearing retainer.
G05022175
499755602 PRESS SNAP RING
  • Used for installing the oil seal.
  • Used for installing the ball bearing and roller bearing.
G05002454
498077600 REMOVER
  • Used for removing the ball bearing of the rear drive shaft.
  • Used for removing the ball bearing of transfer reduction driven gear.
  • Used for removing ball bearing of reduction driven gear.
  • Used for removing the ball bearing of drive sprocket.
G10218429
18460AA040 CHECK BOARD Used for measuring TCM terminal voltage and resistance.
G10289719
- SUBARU SELECT MONITOR 4 Used for setting of each function and troubleshooting for electrical system.
NOTE: For detailed operation procedures of Subaru Select Monitor 4, refer to "Application help".