LEMON Manuals: Even more car manuals for everyone
Home >> Subaru >> 2017 >> WRX Base >> Repair and Diagnosis >> External Pages >> Different variant/trim >> Section 17 (Continuously Variable Transaxle (CVT) (Service Information)) >> Front Reduction Driven Gear >> Adjustment

Front Reduction Driven Gear: Adjustment

WARNING: This page is about a different variant/trim than selected.
  1. If the ball bearing is attached, remove the bearing and shims. <Ref. to REMOVAL , Converter Case Cover.>
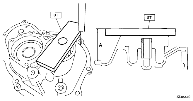
  2. Using the ST, measure height "A" from the ST upper face to the mating surface of the case.

    ST 398643600 GAUGE

    Fig 1: Measuring Height From ST Upper Face To Mating Surface Of Case
    G06654791Courtesy of SUBARU OF AMERICA, INC.
  3. Measure depth "B" from the converter case cover upper face to the bearing catch surface.
    Fig 2: Measuring Depth From Converter Case Cover Upper Face To Bearing Catch Surface
    G06654792Courtesy of SUBARU OF AMERICA, INC.
  4. Install the ball bearing to the reduction driven gear.
    NOTE: Use a new ball bearing.
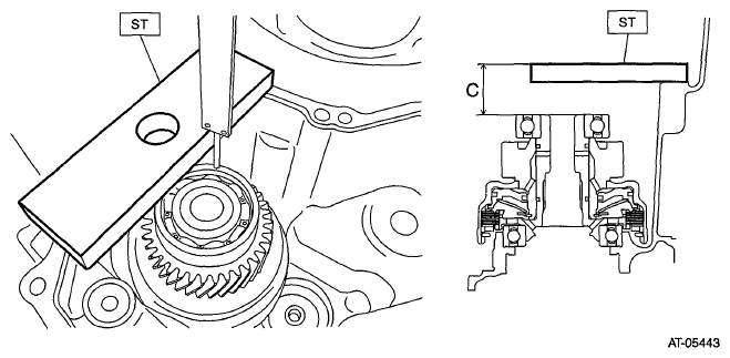
  5. Measure depth "C" from the ST upper face to the bearing end face using the ST.

    ST 398643600 GAUGE

    Fig 3: Measuring Depth From ST Upper Face To Bearing End Face Using ST
    G06654793Courtesy of SUBARU OF AMERICA, INC.
  6. Calculate clearance "T" using the following formula.

    Formula: T mm = (C - 15) - ((A - 15) - B)

    [T in = (C - 0.591) - ((A - 0.591) - B)]

    T: Clearance

    A: Height from the ST upper face to the converter case mating surface

    B: Depth from the converter case cover upper face to the bearing catch surface

    C: Depth from the ST upper face to the bearing end face

    15 mm (0.591 in): Thickness of ST

    Clearance "T" mm (in) Thickness of shim mm (in)
    0.470 - 0.569 (0.019 - 0.021) 0.4 (0.016)
    0.570 - 0.669 (0.022 - 0.025) 0.5 (0.020)
    0.670 - 0.769 (0.026 - 0.029) 0.6 (0.024)
    0.770 - 0.869 (0.030 - 0.033) 0.7 (0.028)
    0.870 - 0.980 (0.034 - 0.039) 0.8 (0.031)
  7. Select one to two shims so that the total thickness meets the value obtained from above.
    Part No. Thickness of shim mm (in)
    31288AA130 0.2 (0.008)
    31288AA140 0.3 (0.012)
    31288AA150 0.5 (0.020)