LEMON Manuals: Even more car manuals for everyone
Home >> Subaru >> 2017 >> WRX Base >> Repair and Diagnosis >> External Pages >> Different variant/trim >> Section 17 (Continuously Variable Transaxle (CVT) (Service Information)) >> Front Reduction Drive Gear >> Disassembly

Front Reduction Drive Gear: Disassembly

WARNING: This page is about a different variant/trim than selected.
  1. Remove the seal ring and O-ring.
    Fig 1: Removing Seal Ring And O-Ring
    G09482343Courtesy of SUBARU OF AMERICA, INC.
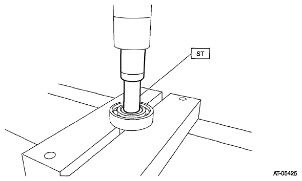
  2. Using the ST, remove the ball bearing from front reduction drive gear.

    ST 899864100 REMOVER

    Fig 2: Removing Ball Bearing From Front Reduction Drive Gear
    G06654770Courtesy of SUBARU OF AMERICA, INC.
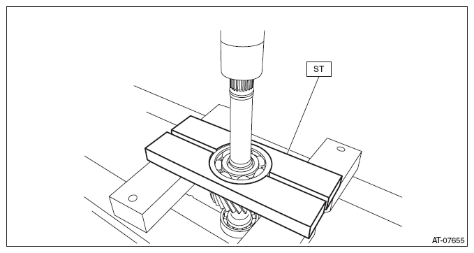
  3. Using the ST, remove the ball bearing from front reduction drive gear.

    ST 498077000 REMOVER

    Fig 3: Removing Ball Bearing From Front Reduction Drive Gear
    G09482345Courtesy of SUBARU OF AMERICA, INC.