LEMON Manuals: Even more car manuals for everyone
Home >> Subaru >> 2017 >> WRX Base >> Repair and Diagnosis >> External Pages >> Different variant/trim >> Section 17 (Continuously Variable Transaxle (CVT) (Service Information)) >> Front Differential Assembly >> Disassembly >> Side Retainer

Side Retainer

WARNING: This page is about a different variant/trim than selected.
NOTE: After adjusting the drive pinion backlash and tooth contact, replace the oil seal and O-ring with new parts.
  1. Remove the O-ring.
    Fig 1: Removing O-Ring
    G06654717Courtesy of SUBARU OF AMERICA, INC.
  2. Remove the oil seal.
    Fig 2: Removing Oil Seal
    G07913664Courtesy of SUBARU OF AMERICA, INC.
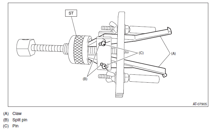
  3. Remove the SPLIT PIN (ST), and then remove the claw.

    ST 398527700 PULLER ASSY

    Fig 3: Removing Split Pin (ST)
    G11577957Courtesy of SUBARU OF AMERICA, INC.
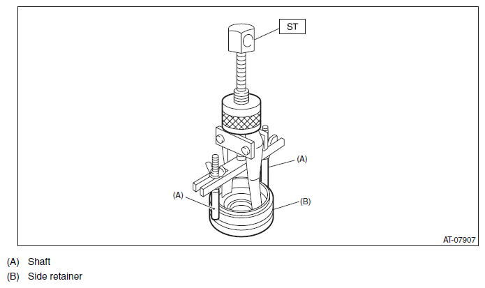
  4. Attach two claws to the outer race, and set the ST to side retainer.

    ST 398527700 PULLER ASSY

    Fig 4: Attaching Claws To Outer Race
    G11577958Courtesy of SUBARU OF AMERICA, INC.
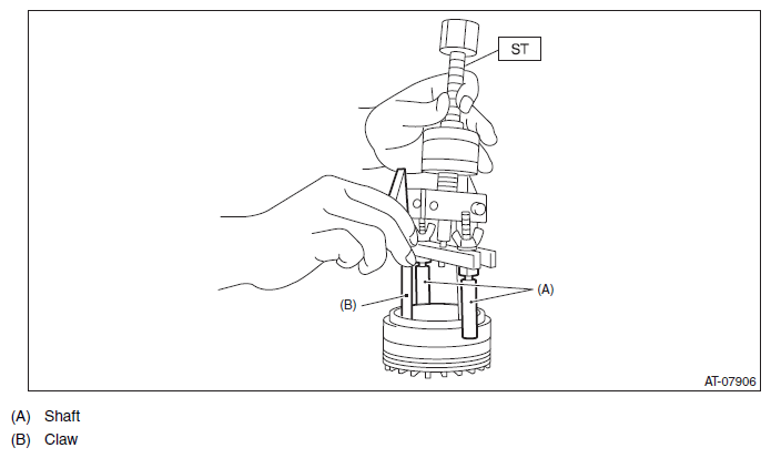
  5. Restore the removed claws to original position, and install the pin and split pin.
  6. Hold the shaft of ST to avoid removing from side retainer, and then remove the bearing outer race.

    ST 398527700 PULLER ASSY

    NOTE: Replace the bearing inner and outer races as a single unit.
    Fig 5: Holding Shaft Of ST
    G11577959Courtesy of SUBARU OF AMERICA, INC.