LEMON Manuals: Even more car manuals for everyone
Home >> Subaru >> 2017 >> WRX Base >> Repair and Diagnosis >> External Pages >> Different variant/trim >> Section 17 (Continuously Variable Transaxle (CVT) (Service Information)) >> Forward Clutch Assembly >> Assembly

Forward Clutch Assembly: Assembly

WARNING: This page is about a different variant/trim than selected.
  1. Install the forward clutch piston to forward clutch drum.
    NOTE:
    • Apply CVTF to the seal of forward clutch piston.
    • Insert it all the way to the end.
    Fig 1: Installing Forward Clutch Piston To Forward Clutch Drum
    G06654585Courtesy of SUBARU OF AMERICA, INC.
  2. Install the return spring.
    Fig 2: Removing Return Spring
    G06654583Courtesy of SUBARU OF AMERICA, INC.
  3. Install the forward clutch piston retainer.
    NOTE: Apply CVTF to the sealing portion of the forward clutch piston retainer.
    Fig 3: Removing Forward Clutch Piston Retainer
    G06654582Courtesy of SUBARU OF AMERICA, INC.
  4. Compress the return spring using the ST to install the snap ring.

    ST 18762AA001 COMPRESSOR SPECIAL TOOL

    Fig 4: Removing Snap Ring
    G06654581Courtesy of SUBARU OF AMERICA, INC.
  5. Measure thickness "A" of the retaining plate installed.
    Fig 5: Measuring Thickness Of Retaining Plate
    G09482155Courtesy of SUBARU OF AMERICA, INC.
  6. Measure thickness "B" of the internal gear on a surface plate.
    Fig 6: Measuring Thickness Of Internal Gear On Surface Plate
    G09482156Courtesy of SUBARU OF AMERICA, INC.
  7. Measure thickness "C" of labelled or marked snap ring.
    Fig 7: Measuring Thickness Of Labelled Or Marked Snap Ring
    G09482157Courtesy of SUBARU OF AMERICA, INC.
  8. Install the dish plate, drive plate and driven plate.
  9. Install the snap ring at the location (upper groove) indicated in the figure.
    Fig 8: Installing Dish Plate, Drive Plate And Driven Plate
    G06654592Courtesy of SUBARU OF AMERICA, INC.
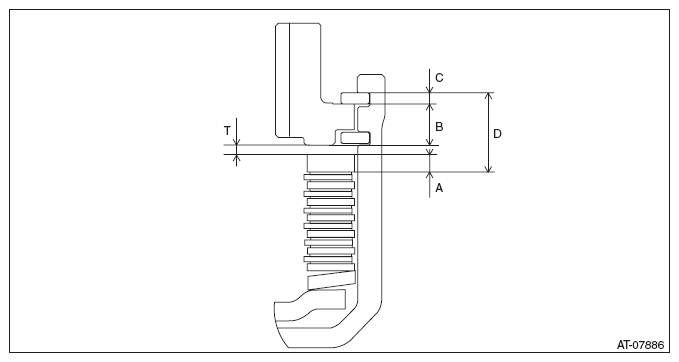
  10. Measure depth "D" of snap ring and driven plate while lifting the snap ring.
    Fig 9: Measuring Depth Of Snap Ring And Driven Plate
    G09482159Courtesy of SUBARU OF AMERICA, INC.
  11. Calculate clearance "T" from internal gear to retaining plate with the obtained value from step  5 through step  10.

    Formula: T mm (in) = D - A - B - C

    T: Clearance from internal gear to retaining plate

    A: Thickness of retaining plate

    B: Thickness of internal gear

    C: Thickness of snap ring

    D: Depth of snap ring and driven plate, with snap ring raised upward

    Fig 10: Checking Depth Of Snap Ring And Driven Plate
    G09482160Courtesy of SUBARU OF AMERICA, INC.
  12. If the value "T" obtained from step  11 exceeds the limit for use, replace the drive plate and driven plate with new parts and select the retaining plate within the initial standard value.

    Initial standard: 

    1.2 - 1.6 mm (0.047 - 0.063 in) 

    Limit thickness: 

    2.4 mm (0.09 in) 

    Retaining plate
    Item number Thickness mm (in)
    31567AB670 3.2 (0.126)
    31567AB660 3.0 (0.118)
    31567AB650 2.8 (0.110)
    31567AB640 2.6 (0.102)
  13. Remove the snap ring.
    Fig 11: Installing Dish Plate, Drive Plate And Driven Plate
    G06654592Courtesy of SUBARU OF AMERICA, INC.
  14. Replace with the selected retaining plate to install.
  15. Install the snap ring to the lower groove.
    Fig 12: Removing Snap Ring
    G06654579Courtesy of SUBARU OF AMERICA, INC.
  16. Install the thrust needle bearing.
    NOTE: Install the thrust needle bearing in the correct direction.
    Fig 13: Installing Thrust Needle Bearing
    G06654597Courtesy of SUBARU OF AMERICA, INC.
  17. Install the washer.
    Fig 14: Removing Washer
    G06654577Courtesy of SUBARU OF AMERICA, INC.
  18. Install the sun gear.
    Fig 15: Removing Sun Gear
    G06654576Courtesy of SUBARU OF AMERICA, INC.
  19. Install the internal gear.
    Fig 16: Removing Internal Gear
    G06654575Courtesy of SUBARU OF AMERICA, INC.
  20. Install the snap ring.
  21. Install the thrust needle bearing.
    NOTE: Make sure to install in the right direction.
    Fig 17: Removing Thrust Needle Bearing
    G06654573Courtesy of SUBARU OF AMERICA, INC.
  22. Install the planetary carrier assembly.
Fig 18: Removing Planetary Carrier Assembly
G09482138Courtesy of SUBARU OF AMERICA, INC.