LEMON Manuals: Even more car manuals for everyone
Home >> Subaru >> 2017 >> WRX Base >> Repair and Diagnosis >> External Pages >> Different car >> Section 15 (Security And Locks - Keyless Access (W/Push Button Start) (Diagnostics)) >> General Description >> System Block Diagram

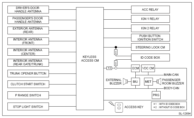
System Block Diagram

WARNING: This page is about a different car, the 2022 Subaru WRX. However, it is still accessible from the selected car via links, so may be relevant.
G14615259Courtesy of SUBARU OF AMERICA, INC.