LEMON Manuals: Even more car manuals for everyone
Home >> Subaru >> 2017 >> WRX Base >> Repair and Diagnosis (Single Page) >> Accessories & Equipment >> Entertainment Systems >> Entertainment System >> Navigation System >> Operation >> Check Speaker Output With Line Diag Mode

Check Speaker Output With Line Diag Mode

  1. Turn the ignition switch to ACC.
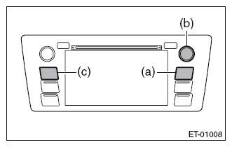
  2. Press the button (b) twice with the button (a) pressed.
    Fig 1: Locating Navigation System Buttons
    G10272638Courtesy of SUBARU OF AMERICA, INC.
    NOTE: Pressing the button (c) for 3 seconds or more, or turning the ignition switch from the OFF to ACC position can exit the diagnostic mode.
  3. {Line Diag} screen is displayed.
    Fig 2: Display Screen Line Diag For Connection Status
    G10298690Courtesy of SUBARU OF AMERICA, INC.
  4. Touch {Audio Check} on the {Line Diag} screen.
  5. {Audio Check} screen is displayed.
    Fig 3: Display Screen Audio Check
    G10309136Courtesy of SUBARU OF AMERICA, INC.
  6. Touch the {ON} key of {Speaker Check} to check speaker output.
    NOTE:
    • The speaker front left → front right → rear right → rear left will sound in order for 2 seconds each.
    • The speaker sounds at the maximum volume during speaker check.
    • Press the {BACK} key to return to the {Line Diag} screen.