LEMON Manuals: Even more car manuals for everyone
Home >> Subaru >> 2017 >> Outback 2.5i >> Repair and Diagnosis >> Transmission >> Transmission Control Systems >> MT Gear Select Cable >> Installation

MT Gear Select Cable: Installation

CAUTION:
  • Always use new MT gear select cable if the cable is removed from selector lever COMPL of transmission side.
  • Do not bend the MT gear select cable sharply.
  • Do not twist the inner cable excessively.
  1. Remove the MT gear select cable from the select bracket.
    CAUTION: Check for assembling position before removing the MT gear select cable from the select bracket.
    Fig 1: MT Gear Select Cable And Select Bracket
    G11564636Courtesy of SUBARU OF AMERICA, INC.
  2. Set to the new MT gear select cable to the select bracket and secure it with the clamp.
    CAUTION: Be careful not to mistake the MT gear select cable installing direction.
    Fig 2: MT Gear Select Cable, Select Bracket And Clamp
    G11564637Courtesy of SUBARU OF AMERICA, INC.
  3. Install the MT gear select cable and select bracket as a single unit to the transmission body.

    Tightening torque: 

    18 N.m (1.8 kgf-m, 13.3 ft-lb) 

    Fig 3: Select Bracket And MT Gear Select Cable
    G11564638Courtesy of SUBARU OF AMERICA, INC.
  4. Install the MT gear select cable to the select lever COMPL.
    Fig 4: MT Gear Select Cable And Select Lever COMPL
    G11564639Courtesy of SUBARU OF AMERICA, INC.
  5. Measure the exposed length (a) of MT gear select cable. If the value is out of specification, adjust the MT gear select cable. <Ref. to ADJUSTMENT , MT Gear Select Cable.>

    Exposed length (a) of MT gear select cable: 

    Specification: 11 mm (0.4 in) 

    Fig 5: Measuring Exposed Length Of MT Gear Select Cable
    G06651819Courtesy of SUBARU OF AMERICA, INC.
  6. Connect the MT gear select cable.
  7. Install the plate cable assembly.

    Tightening torque: 

    7.5 N.m (0.8 kgf-m, 5.5 ft-lb) 

  8. Insert the MT gear select cable into clamp cable, and install to the transmission.

    Tightening torque: 

    18 N.m (1.8 kgf-m, 13.3 ft-lb) 

    Fig 6: Clamp Cable
    G11564641Courtesy of SUBARU OF AMERICA, INC.
  9. Raise the transmission jack, install the front crossmember and rear crossmember.

    Tightening torque: 

    T1: 75 N.m (7.6 kgf-m, 55.3 ft-lb) 

    T2: 140 N.m (14.3 kgf-m, 103.3 ft-lb) 

    Fig 7: Front Crossmember And Rear Crossmember Mounting Bolts With Torque Specifications
    G06651822Courtesy of SUBARU OF AMERICA, INC.
  10. Rotate the handle of ST (ENGINE HANGER) to apply tension to the sling chain.
  11. Take out the transmission jack.
  12. Install the center exhaust cover.

    Tightening torque: 

    18 N.m (1.8 kgf-m, 13.3 ft-lb) 

  13. Install the center exhaust pipe. <Ref. to INSTALLATION , Center Exhaust Pipe.>
  14. Install the front under cover. <Ref. to INSTALLATION , Front Under Cover.>
  15. Lower the vehicle.
  16. Rotate the handle of ST (ENGINE HANGER) to lift up the engine slightly.
  17. Remove the bolts from ST (SPECIAL TOOL FB).
    Fig 8: Locating Special Tool Bolts
    G10274762Courtesy of SUBARU OF AMERICA, INC.
  18. Remove the bolt and nut to remove ST (SPECIAL TOOL FB).
    Fig 9: Locating Special Tool Nut And Bolt
    G10274778Courtesy of SUBARU OF AMERICA, INC.
  19. Temporarily attach the front engine mounting with bolts.
    Fig 10: Locating Front Engine Mounting Bolts
    G08578507Courtesy of SUBARU OF AMERICA, INC.
  20. Install the bolt and nut to the front engine mounting.
    Fig 11: Locating Front Engine Mounting Bolt And Nut
    G08578508Courtesy of SUBARU OF AMERICA, INC.
  21. Tighten the bolts and nuts of front engine mounting.

    Tightening torque: 

    T1: 25 N.m (2.5 kgf-m, 18.4 ft-lb) 

    T2: 45 N.m (4.6 kgf-m, 33.2 ft-lb) 

    Fig 12: Front Engine Mounting Bolts And Nut With Torque Specifications
    G08578509Courtesy of SUBARU OF AMERICA, INC.
  22. Remove the ST (ENGINE HANGER).
    CAUTION: Be sure to remove the M8 bolt.
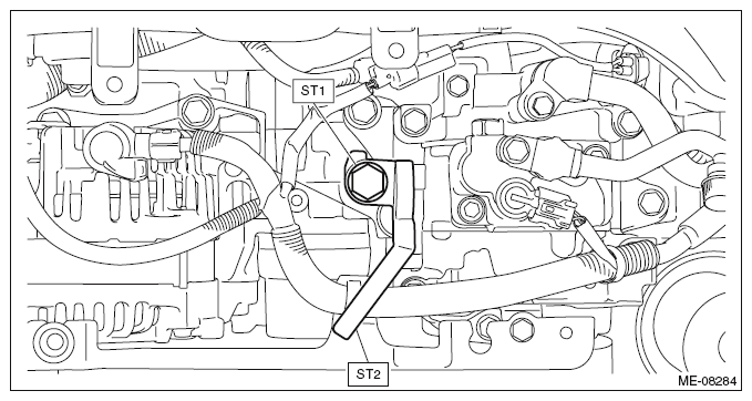
  23. Remove the ST1 and ST2 from the engine unit.

    ST1 18363AA050 BOLT

    ST2 18360AA040 HANGER

    Fig 13: Removing Bolt (18363AA050) And Hanger (18360AA040) From Engine Unit
    G10262386Courtesy of SUBARU OF AMERICA, INC.
  24. Attach the nuts to the left and right transmission mounting brackets.

    Tightening torque: 

    45 N.m (4.6 kgf-m, 33.2 ft-lb) 

    Fig 14: Locating Transmission Mounting Bracket Nut
    G08578481Courtesy of SUBARU OF AMERICA, INC.
  25. Install the air intake boot assembly. <Ref. to INSTALLATION , Air Intake Boot.>
  26. Install the V-belt cover.

    Tightening torque: 

    6.5 N.m (0.7 kgf-m, 4.8 ft-lb) 

  27. Install the air intake duct. <Ref. to INSTALLATION , Air Intake Duct.>
  28. Connect the ground terminal to battery sensor. <Ref. to BATTERY , NOTE, Repair Contents.>
  29. Make sure the gears can be shifted accurately into each gear.