LEMON Manuals: Even more car manuals for everyone
Home >> Subaru >> 2017 >> Outback 2.5i >> Repair and Diagnosis >> Accessories & Equipment >> Communication Devices >> Body Control System (Diagnostics) >> Diagnostic Procedure With Diagnostic Trouble Code (DTC) >> DTC U0169 Lost Communication With Sunroof Control Module

DTC U0169 Lost Communication With Sunroof Control Module

DTC DETECTING CONDITION: 

No data is received from sunroof unit.

TROUBLE SYMPTOM: 

The sunroof does not operate normally.

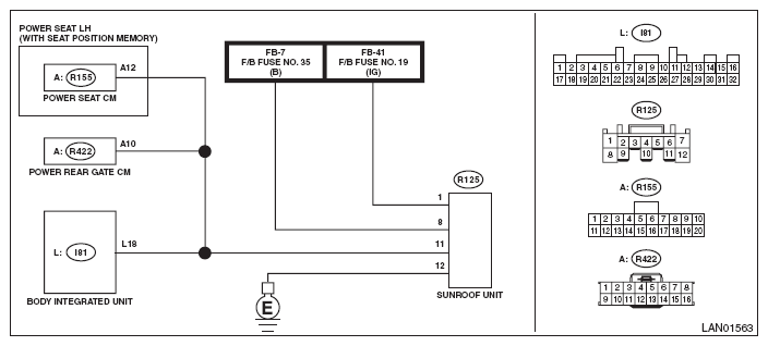
WIRING DIAGRAM: 

NOTE: For the coupling connector, refer to "WIRING SYSTEM".
Sunroof Control System <Ref. to WIRING DIAGRAM , Sunroof Control System.>
Fig 1: Lost Communication With Sunroof Control Module Wiring Diagram
G10277469Courtesy of SUBARU OF AMERICA, INC.
Step Check Yes No
1 CHECK DTC. 
Read the DTC of body integrated unit using Subaru Select Monitor. <Ref. to READ DIAGNOSTIC TROUBLE CODE (DTC) .>
Is DTC U0169 displayed? (Current malfunction) Go to step 2.  Even if DTC is displayed, the circuit has returned to a normal condition at this time. Reproduce the failure, and then perform the diagnosis again.
NOTE: In this case, temporary poor contact of connector, temporary open or short circuit of harness may be the cause
2 CHECK DTC. 
  1. Turn the ignition switch to OFF.
  2. Disconnect the sunroof unit connector and body integrated unit connector.
  3. Connect the disconnected connectors.
  4. Read the DTC of the CAN system using the Subaru Select Monitor. <Ref. to READ DIAGNOSTIC TROUBLE CODE (DTC) .>
Is DTC U0169 displayed? (Current malfunction) Go to step 3.  Even if DTC is displayed, the circuit has returned to a normal condition at this time. Reproduce the failure, and then perform the diagnosis again.
NOTE: In this case, temporary poor contact of connector, temporary open or short circuit of harness may be the cause.
3 CHECK HARNESS. 
  1. Turn the ignition switch to OFF.
  2. Disconnect the sunroof unit and body integrated unit connector.
  3. Using the tester, measure the resistance between terminals.

    Connector & terminal 

    (R125) No. 11 - (i81) No. 18: 

    (R125) No. 12 - Chassis ground: 

Is the resistance less than 10 Ω? Go to step 4.  Repair the open circuit of harness.
4 CHECK HARNESS. 
  1. Disconnect the power rear gate Control Module connector. (With power rear gate)
  2. Disconnect the power seat Control Module connector. (With power seat (with memory))
  3. Using the tester, measure the resistance between terminals.

    Connector & terminal 

    (R125) No. 11 - Chassis ground: 

Is the resistance 10 kΩ or more? Go to step 5.  Repair the shorted portion of harness.
5 CHECK HARNESS. 
  1. Turn the ignition switch to ON.
  2. Using the tester, measure the voltage between terminals.

    Connector & terminal 

    (R125) No. 11 - Chassis ground: 

Is the voltage less than 1 V? Go to step 6.  Repair the shorted portion of harness.
6 CHECK HARNESS. 
  1. Turn the ignition switch to ON.
  2. Using the tester, measure the voltage between terminals.

    Connector & terminal 

    (R125) No. 1 (+) - Chassis ground (-): 

    (R125) No. 8 (+) - Chassis ground (-): 

Is the voltage 9 V or more? Go to step 7.  Repair the open circuit of harness.
7 CHECK CONTROL MODULE. 
  1. Turn the ignition switch to OFF.
  2. Replace the sunroof unit with a properly functioning part. <Ref. to SUNROOF MOTOR .>
  3. Read the DTC of body integrated unit using Subaru Select Monitor. <Ref. to READ DIAGNOSTIC TROUBLE CODE (DTC) .>
Is DTC U0169 displayed? (Current malfunction) Replace the body integrated unit. <Ref. to BODY INTEGRATED UNIT .> For model without power rear gate and without power seat (with memory), malfunction occurred in the sunroof unit. For models with power rear gate or with power seat (with memory), Go to step 8. 
8 CHECK CONTROL MODULE. 
NOTE: For models without power rear gate, Go to step 9. 
  1. Connect the power rear gate Control Module connector.
  2. Read the DTC of body integrated unit using Subaru Select Monitor. <Ref. to READ DIAGNOSTIC TROUBLE CODE (DTC) .>
Is DTC U0169 displayed? (Current malfunction) Replace the power rear gate Control Module. <Ref. to POWER REAR GATE CONTROL MODULE .> Go to step 9. 
9 CHECK CONTROL MODULE. 
  1. Connect the power seat Control Module connector.
  2. Read the DTC of body integrated unit using Subaru Select Monitor. <Ref. to READ DIAGNOSTIC TROUBLE CODE (DTC) .>
Is DTC U0170 displayed? (Current malfunction) Replace the power seat Control Module. <Ref. to POWER SEAT CONTROL MODULE (SEAT WITH MEMORY FUNCTION) , REMOVAL, Power Seat System.> Malfunction occurred in the sunroof unit.