LEMON Manuals: Even more car manuals for everyone
Home >> Subaru >> 2017 >> Outback 2.5i >> Repair and Diagnosis >> Accessories & Equipment >> Communication Devices >> Body Control System (Diagnostics) >> Diagnostic Procedure With Diagnostic Trouble Code (DTC) >> DTC B2681 High Beam Assist Control Module

DTC B2681 High Beam Assist Control Module

DTC detecting condition: 

Trouble symptom: 

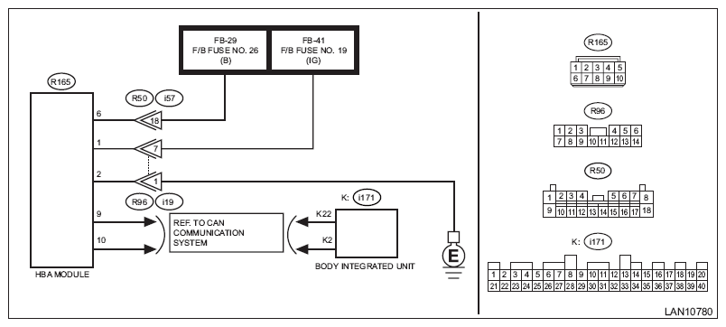
Wiring diagram: 

NOTE: For the coupling connector, refer to "WIRING SYSTEM".
Headlight system <Ref. to WIRING DIAGRAM , Headlight System.>
Fig 1: High Beam Assist Sensor Wiring Diagram
G11567978Courtesy of SUBARU OF AMERICA, INC.
Step Check Yes No
1 CHECK DTC. 
Read the DTC of body integrated unit using Subaru Select Monitor. <Ref. to READ DIAGNOSTIC TROUBLE CODE (DTC) .>
Is B2681 current malfunction? Go to step 2.  Even if DTC is displayed, the circuit has returned to a normal condition at this time. Reproduce the failure, and then perform the diagnosis again.
NOTE: In this case, temporary poor contact of connector, temporary open or short circuit of harness may be the cause.
2 CHECK CURRENT DATA. 
  1. Turn the ignition switch to OFF.
  2. Turn the ignition switch to ON and wait for at least 15 seconds.
  3. Check the current data «<hBA> ECU » of body integrated unit using Subaru Select Monitor. <Ref. to READ CURRENT DATA .>
Is « FAIL » displayed? Replace the high beam assist module. <Ref. to REARVIEW MIRROR .> Go to step 3. 
3 CHECK POWER SUPPLY VOLTAGE. 
  1. Turn the ignition switch to OFF.
  2. Disconnect the high beam assist module connector. <Ref. to REARVIEW MIRROR .>
  3. Start the engine.
  4. Use a tester to measure the voltage between the terminals.

    Connector & terminal 

    (R165) No. 1 (+) - (R165) No. 2 (-): 

Is the voltage 10 V or more? Go to step 7.  Go to step 4. 
4 CHECK FUSE. 
  1. Turn the ignition switch to OFF.
  2. Check the fuse.
Is the check result OK? Go to step 5.  Replace the defective fuse. When the replaced fuse is blown, check the power supply circuit for short-circuited.
5 CHECK HARNESS (OPEN CIRCUIT). 
  1. Disconnect the high beam assist module connector. <Ref. to REARVIEW MIRROR .>
  2. Using the tester, measure the resistance between terminals.

    Connector & terminal 

    (R165) No. 2 - Chassis ground: 

Is the resistance less than 10 Ω? Go to step 6.  Repair or replace the open circuit of harness.
6 CHECK CURRENT DATA. 
  1. Connect the disconnected connectors.
  2. Turn the ignition switch to ON and wait for at least 15 seconds.
  3. Check the current data «<hBA>High Beam Assist Camera » of body integrated unit using Subaru Select Monitor. <Ref. to READ CURRENT DATA .>
Is « FAIL » displayed? Replace the high beam assist module. <Ref. to REARVIEW MIRROR .> Go to step 7. 
7 CHECK DTC. 
Read the DTC of body integrated unit using Subaru Select Monitor. <Ref. to READ DIAGNOSTIC TROUBLE CODE (DTC) .>
Is B2681 current malfunction? Replace the body integrated unit. <Ref. to BODY INTEGRATED UNIT .> Even if DTC is displayed, the circuit has returned to a normal condition at this time. Reproduce the failure, and then perform the diagnosis again.
NOTE: In this case, temporary poor contact of connector, temporary open or short circuit of harness may be the cause.