LEMON Manuals: Even more car manuals for everyone
Home >> Subaru >> 2016 >> BRZ Series.HyperBlue >> Repair and Diagnosis >> Engine Performance >> Engine Control Systems >> Fuel Injection System >> Injector Assembly (Fa20/Port Fuel Injection) >> Removal

Injector Assembly (Fa20/Port Fuel Injection): Removal

  1. Fuel spill prevention procedure (Refer to FUEL SYSTEM (FA20)  )
  2. Disconnection of the battery ground terminal (Refer to WORKING PRECAUTIONS AND NOTES )
  3. Chamber Assembly removal

    (Refer to REMOVAL )

  4. Removal of injector driver (Refer to INJECTOR DRIVER (FA20)  )
  5. Intake manifold protector (bank 1 side) removal
    1. Release the four clamps and disconnect the wiring harness.
      Fig 1: Locating Wiring Harness Clamps
      G10213406Courtesy of SUBARU OF AMERICA, INC.
    2. Remove the 2 bolts, and remove the intake manifold protector (bank 1 side).
      Fig 2: Identifying Intake Manifold Protector Bolts
      G10213407Courtesy of SUBARU OF AMERICA, INC.
  6. Fuel hose No. 1 disconnection
    1. Put an alignment mark on the fuel hose No. 1.
      Fig 3: Locating Fuel Hose No. 1 Alignment Mark
      G10213408Courtesy of SUBARU OF AMERICA, INC.
    2. Disconnect the fuel hose No. 1 with the SST. (Refer to FUEL SYSTEM (FA20)  )

      SST 42099AE000

  7. Fuel hose No. 2 disconnection
    1. Put an alignment mark on the fuel hose No. 2.
      Fig 4: Locating Fuel Hose No. 2 Alignment Mark
      G10213409Courtesy of SUBARU OF AMERICA, INC.
    2. Disconnect the fuel hose No. 2 with the SST. (Refer to FUEL SYSTEM (FA20)  )

      SST 42099AE000

  8. Purge hose disconnection
    1. Move the hose clamp and disconnect the purge hose.
      Fig 5: Locating Purge Hose Clamp
      G08552525Courtesy of SUBARU OF AMERICA, INC.
  9. Intake manifold protector (bank 2 side) removal
    1. Remove the bolt and disconnect the wiring harness clamp bracket.
      Fig 6: Locating Wiring Harness Clamp Bracket Bolt
      G10213411Courtesy of SUBARU OF AMERICA, INC.
    2. Remove the 2 bolts, and remove the intake manifold protector (bank 2 side).
      Fig 7: Locating Intake Manifold Protector Bolts
      G08554253Courtesy of SUBARU OF AMERICA, INC.
  10. Fuel delivery pipe (bank 2 side) removal
    1. Disconnect the two fuel injector assembly connectors.
    2. Release the clamp and disconnect the wiring harness.
      Fig 8: Locating Fuel Injector Assembly Connectors
      G10213413Courtesy of SUBARU OF AMERICA, INC.
    3. Disconnect the fuel pump connector.
      Fig 9: Locating Fuel Pump Connector
      G10213414Courtesy of SUBARU OF AMERICA, INC.
    4. Disconnect the fuel delivery pipe No. 3 from the fuel delivery pipe (bank 2 side). (Refer to FUEL SYSTEM (FA20)  )
      Fig 10: Locating Fuel Delivery Pipe
      G10213415Courtesy of SUBARU OF AMERICA, INC.
    5. Remove the 2 bolts and remove the fuel delivery pipe (bank 2 side) by pulling up it along the axis line of fuel injector Assembly.
      Fig 11: Locating Fuel Delivery Pipe Bolts
      G10213416Courtesy of SUBARU OF AMERICA, INC.
  11. Fuel delivery pipe (bank 1 side) removal
    1. Disconnect the two fuel injector assembly connectors.
    2. Release the clamp and disconnect the wiring harness.
    3. Fig 12: Locating Wiring Harness Clamp
      G10213417Courtesy of SUBARU OF AMERICA, INC.
    4. Disconnect the fuel delivery pipe No. 3 from the fuel delivery pipe (bank 1 side). (Refer to FUEL SYSTEM (FA20)  )
    5. Remove the 2 bolts and remove the fuel delivery pipe (bank 1 side) by pulling up it along the axis line of fuel injector assembly.
      Fig 13: Locating Fuel Delivery Pipe Bolts
      G10213418Courtesy of SUBARU OF AMERICA, INC.
  12. Fuel injector assembly removal
    1. Remove the fuel injector assembly from the fuel delivery pipe.
      Fig 14: Removing Fuel Injector Assembly From Fuel Delivery Pipe
      G10213419Courtesy of SUBARU OF AMERICA, INC.
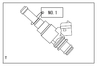
      CAUTION: When the fuel injector Assembly is reinstalled without replacing it, identify it with a tag etc. marked with the cylinder number.
      Fig 15: Identifying Fuel Injector Assembly
      G10213420Courtesy of SUBARU OF AMERICA, INC.
    2. Remove the two O-rings from the fuel injector Assembly.
      Fig 16: Locating Fuel Injector Assembly O-Rings
      G10213421Courtesy of SUBARU OF AMERICA, INC.