LEMON Manuals: Even more car manuals for everyone
Home >> Subaru >> 2015 >> WRX Base >> Repair and Diagnosis >> Transmission >> Transmission Control Systems >> Select Cable >> Adjustment

Select Cable: Adjustment

  1. Shift the select lever to "N" range.
  2. Lift up the vehicle.
  3. Remove the center exhaust pipe (rear). <Ref. to REMOVAL , Center Exhaust Pipe.>
  4. Remove the center exhaust cover.
    Fig 1: Identifying Center Exhaust Cover
    G09481945Courtesy of SUBARU OF AMERICA, INC.
  5. Loosen the adjusting nuts on both sides.
    Fig 2: Identifying Adjusting Nuts
    G10267846Courtesy of SUBARU OF AMERICA, INC.
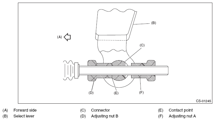
  6. Turn adjusting nut B until it lightly touches the connector.
    Fig 3: Turning Adjusting Nut
    G10267847Courtesy of SUBARU OF AMERICA, INC.
  7. Set a spanner wrench to adjusting nut B so that it does not rotate, and then tighten the adjusting nut A.

    Tightening torque: 

    7.5 N.m (0.76 kgf-m, 5.5 ft-lb) 

    Fig 4: Tightening Adjusting Nut A
    G10267848Courtesy of SUBARU OF AMERICA, INC.
  8. After the completion of adjustment, confirm that the select lever operates normally at all ranges.
  9. Installing procedure hereafter is in the reverse order of removal.