LEMON Manuals: Even more car manuals for everyone
Home >> Subaru >> 2015 >> WRX Base >> Repair and Diagnosis >> Engine Performance >> Engine Control Systems >> Fuel Injection System (Except STI) >> Fuel Filler Pipe >> Installation

Fuel Filler Pipe: Installation

  1. Open the fuel filler lid.
  2. Insert the fuel filler pipe assembly from inside of the rear fender.
  3. Install the fuel filler pipe assembly to the vehicle.

    Tightening torque: 

    7.5 N.m (0.8 kgf-m, 5.5 ft-lb) 

    Fig 1: Locating Fuel Filler Pipe Assembly Bolts And Nuts
    G10264926Courtesy of SUBARU OF AMERICA, INC.
  4. Align the cutout on the fuel filler pipe protector and the protrusion of the neck holder and insert them all the way, and then turn the fuel filler pipe protector in the direction of the arrow until it is locked.
    Fig 2: Turning Fuel Filler Pipe Protector
    G10264928Courtesy of SUBARU OF AMERICA, INC.
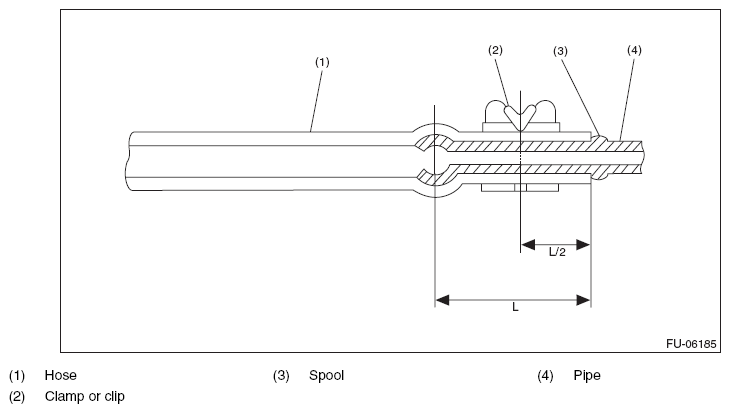
  5. Securely insert the fuel filler hose (A) and evaporation hose (B) until the hose end contacts the spool, then attach the clamp or clip as shown in the figure.

    Tightening torque: 

    2.5 N.m (0.3 kgf-m, 1.8 ft-lb) 

    Fig 3: Identifying Fuel Filler Hose And Evaporation Hose Of Fuel Filler Pipe Assembly
    G10264925Courtesy of SUBARU OF AMERICA, INC.
    Fig 4: Identifying Hose, Spool, Pipe, Clamp And Clip
    G10266313Courtesy of SUBARU OF AMERICA, INC.
  6. Install the rear mud guard RH. <Ref. to INSTALLATION , Mud Guard.>
  7. Install the rear sub frame assembly. <Ref. to INSTALLATION , Rear Sub Frame.>
  8. Connect the ground terminal to battery sensor. <Ref. to BATTERY , NOTE, Note.>