LEMON Manuals: Even more car manuals for everyone
Home >> Subaru >> 2014 >> Tribeca >> Repair and Diagnosis >> Engine Performance >> Engine Control Systems >> Fuel Injection System >> Mass Air Flow and Intake Air Temperature Sensor >> Inspection >> Check The Mass Air Flow Sensor Unit

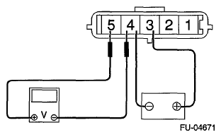
Check The Mass Air Flow Sensor Unit

  1. Connect the battery positive terminal to terminal No. 3 and the battery ground terminal to terminal No. 4, the circuit tester positive terminal to terminal No. 5 and the circuit tester ground terminal to terminal No. 4.
    Fig 1: Checking Mass Air Flow Sensor Unit
    G06651260Courtesy of SUBARU OF AMERICA, INC.
  2. Check the voltage changes when air is blown to the mass air flow sensor unit in arrow direction.
    Fig 2: Locating Mass Air Flow Sensor Unit
    G06651261Courtesy of SUBARU OF AMERICA, INC.