LEMON Manuals: Even more car manuals for everyone
Home >> Subaru >> 2013 >> Tribeca >> Repair and Diagnosis >> Engine Performance >> System >> Engine Controls (Diagnostics) >> Compulsory Valve Operation Check Mode >> Operation

Compulsory Valve Operation Check Mode: Operation

  1. Prepare the Subaru Select Monitor kit. Refer to PREPARATION TOOL , General Description.
    Fig 1: Identifying Subaru Select Monitor
    G05658482Courtesy of SUBARU OF AMERICA, INC.
  2. Prepare PC with Subaru Select Monitor installed.
  3. Connect the USB cable to SDI (Subaru Diagnosis Interface) and USB port on the personal computer (dedicated port for the Subaru Select Monitor).
    NOTE: The dedicated port for the Subaru Select Monitor means the USB port which was used to install the Subaru Select Monitor.
  4. Connect the diagnosis cable to SDI.
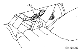
  5. Connect the delivery (test) mode connector (A) located under the glove box.
    Fig 2: Connecting Delivery Mode Connector
    G05346100Courtesy of SUBARU OF AMERICA, INC.
  6. Connect SDI to data link connector located in the lower portion of the instrument panel (on the driver's side).
    Fig 3: Locating Data Link Connector
    G05031666Courtesy of SUBARU OF AMERICA, INC.
    CAUTION: Do not connect the scan tools except for Subaru Select Monitor and general scan tool.
  7. Start the PC.
  8. Turn the ignition switch to ON (engine OFF) and run the "PC application for Subaru Select Monitor".
  9. On «Main Menu» display, select {Each System Check}.
  10. On «System Selection Menu» display, select {Engine Control System}.
  11. Click the [OK] button after the information of engine type has been displayed.
  12. On «Engine Diagnosis» display, select {System Operation Check Mode}.
  13. On «System Operation Check Mode» display, select {Actuator ON/OFF Operation}.
  14. Select the actuator to be forcibly driven on the «Actuator ON/OFF Operation» display screen and click the [Next] button.
  15. Clicking the [Finished] button completes the compulsory drive mode of actuator. The display will then return to the «Actuator ON/OFF Operation» screen.
    NOTE: For detailed operation procedures, refer to " Subaru Select Monitor".