LEMON Manuals: Even more car manuals for everyone
Home >> Subaru >> 2013 >> Outback Base, Standard Trans >> Repair and Diagnosis >> External Pages >> Different variant/trim >> Section 9 (Continuously Variable Transaxle (CVT)) >> Drive Pinion Shaft Assembly >> Assembly

Drive Pinion Shaft Assembly: Assembly

WARNING: This page is about a different variant/trim than selected.
  1. Install the plug to drive pinion retainer.
    NOTE:
    • Use new O-rings.
    • Apply CVTF to the O-ring.

    Tightening torque: 

    25 N.m (2.5 kgf-m, 18.4 ft-lb) 

    Fig 1: Locating Drive Pinion Retainer Plug
    G08318095Courtesy of SUBARU OF AMERICA, INC.
  2. Using the ST, install the oil seal to drive pinion retainer.
    NOTE:
    • Apply CVTF to the oil seal press-fitting surface and lip.
    • Install the oil seal in the correct direction.

    ST 927720000 HOUSING BUSHING INSTALLER AND REMOVER

    Fig 2: Installing Oil Seal To Drive Pinion Retainer Using Special Tool
    G08578989Courtesy of SUBARU OF AMERICA, INC.
  3. Select the drive pinion washer.
    1. Measure the roller bearing inner race width "A" on the front side.
      Fig 3: Identifying Width "A" Of Roller Bearing Inner Race
      G08318098Courtesy of SUBARU OF AMERICA, INC.
    2. Measure the roller bearing inner race width "B" on the rear side.
      Fig 4: Identifying Width "B" Of Roller Bearing Inner Race
      G08318099Courtesy of SUBARU OF AMERICA, INC.
    3. Measure the spacer width "C".
      Fig 5: Measuring Spacer Width "C"
      G08318100Courtesy of SUBARU OF AMERICA, INC.
    4. Using the ST, install the front roller bearing outer race to the drive pinion retainer.

      ST1 28499TC010 INSTALLER

      ST2 398177700 INSTALLER

      Fig 6: Installing Front Roller Bearing Outer Race To Drive Pinion Retainer Using Special Tools
      G08318101Courtesy of SUBARU OF AMERICA, INC.
    5. Using the ST, install the rear roller bearing outer race to the drive pinion retainer.

      ST 20099AE020 INSTALLER

      Fig 7: Installing Rear Roller Bearing Outer Race To Drive Pinion Retainer Using Special Tool
      G08318102Courtesy of SUBARU OF AMERICA, INC.
    6. Place the drive pinion retainer on the surface plate, and install the inner race to the rear roller bearing outer race.
      NOTE: Place the drive pinion retainer so that the mating surface of the drive pinion retainer (mating surface with the converter case) contacts the surface plate.
    7. Measure the height "D" from the end face of the rear roller bearing inner race to the surface plate.
      Fig 8: Measuring Height "D" From End Face Of Rear Roller Bearing Inner Race To Surface Plate
      G08318103Courtesy of SUBARU OF AMERICA, INC.
    8. Install the inner race to the front roller bearing outer race.
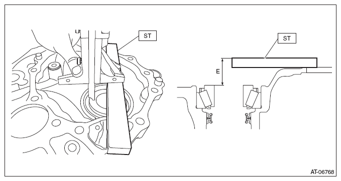
    9. Measure the depth "E" from the end face of the front roller bearing inner race to the end face of the ST.

      ST 499575400 GAUGE

      Fig 9: Measuring Depth "E" From End Face Of Front Roller Bearing Inner Race To Gauge
      G08318104Courtesy of SUBARU OF AMERICA, INC.
    10. Using following formula, select one to three drive pinion washers.

      T (mm) = D - (A + B + C + E - 15) - (0±0.0125)

      [T (in) = D - (A + B + C + E - 0.591) - (0±0.0005)]

      A: Front roller bearing width

      B: Rear roller bearing width

      C: Spacer width

      D: Height from end face of rear roller bearing inner race to surface plate

      E: Depth from end face of front roller bearing inner race to end face of ST

      15 mm (0.591 in): Thickness of ST

      T: Drive pinion washer thickness

      0±0.0125 mm (0±0.0005 in): Clearance

      Drive pinion washer
      Part No. Thickness mm (in)
      38336AA750 0.150 (0.0059)
      38336AA760 0.175 (0.0069)
      38336AA770 0.200 (0.0079)
      38336AA780 0.225 (0.0089)
      38336AA790 0.250 (0.0098)
      38336AA800 0.275 (0.0108)
      38336AA810 0.300 (0.0118)
      38336AA820 0.400 (0.0157)
  4. Measure and record the drive pinion shim thickness to be reused.
  5. Install the drive pinion shim that is reused for the drive pinion shaft.
  6. Using the ST1 and ST2, press-fit the inner race to the drive pinion shaft.

    ST1 899580100 INSTALLER

    ST2 927130000 EXTENSION DRIVE SHAFT

    Fig 10: Pressing-Fit Inner Race To Drive Pinion Shaft Using Special Tools
    G08318105Courtesy of SUBARU OF AMERICA, INC.
  7. Install the drive pinion spacer.
    NOTE: Replace the O-ring with a new part after tooth contact inspection.
    Fig 11: Identifying Drive Pinion Spacer
    G08318090Courtesy of SUBARU OF AMERICA, INC.
  8. Install the selected drive pinion washer.
    Fig 12: Installing Selected Drive Pinion Washer
    G08318107Courtesy of SUBARU OF AMERICA, INC.
  9. Insert the drive pinion shaft into the drive pinion retainer.
    CAUTION: Be careful not to damage the oil seal.
  10. Install the inner bearing and lock nut.
    NOTE: Use a new lock nut.
    Fig 13: Installing Inner Bearing And Lock Nut
    G08318108Courtesy of SUBARU OF AMERICA, INC.
  11. Using the ST, tighten the lock nut to the specified torque so that the starting torque of the drive pinion shaft is within the specified range.
    CAUTION: Before inspecting the starting torque, apply differential gear oil to roller of bearing and rotate the bearing several times.
    NOTE:
    • Tighten the lock nut while directly aligning ST2 and torque wrench.
    • If the starting torque is not within the specified range, select the drive pinion washer, and repeat the step until the starting torque is within the specified range.
    • When a thicker drive pinion washer is selected, the starting torque decreases. When a thinner drive pinion washer is selected, the starting torque increases.

    Starting torque: 

    5.1 - 17.1 N (0.5 - 1.7 kgf, 1.1 - 3.8 lbf) 

    ST1 499787500 ADAPTER

    ST2 499787700 WRENCH

    ST3 498937110 HOLDER

    Using the following formula, calculate the tightening torque for a torque wrench.

    T2 = L2/(L1 + L2) x T1

    T1: 170 - 250 N.m (17.3 - 25.5 kgf-m, 125.4 - 184.4 ft-lb) [Specified tightening torque range]

    T2: Tightening torque

    L1: ST1 length 0.072 m (2.83 in)

    L2: Torque wrench length

    Example:

    Torque wrench length
    m (in)
    Tightening torque
    N.m (kgf-m, ft-lb)
    0.4 (15.75) 144 - 211 (14.7 - 21.5, 106.2 - 155.6)
    0.45 (17.72) 147 - 215 (15.0 - 21.9, 108.4 - 158.6)
    0.5 (19.69) 149 - 218 (15.2 - 22.2, 109.9 - 160.8)
    0.55 (21.65) 150 - 221 (15.3 - 22.5, 110.6 - 163.0)
    Fig 14: Removing Drive Pinion Shaft Assembly Lock Nut Using Special Tools
    G08318087Courtesy of SUBARU OF AMERICA, INC.
    Fig 15: Calculating Lock Nut Tightening Torque Using Torque Wrench
    G08318110Courtesy of SUBARU OF AMERICA, INC.
  12. Install the drive pinion retainer to the converter case, and check the backlash and tooth contact. Refer to ADJUSTMENT  and ADJUSTMENT .
  13. Remove the drive pinion retainer from converter case. Refer to REMOVAL .
  14. Remove the drive pinion spacer from the drive pinion shaft. Refer to DISASSEMBLY .
  15. Install the O-ring to the drive pinion shaft.
    NOTE:
    • Use new O-rings.
    • Apply CVTF to the O-ring.
      Fig 16: Locating Drive Pinion Shaft Assembly O-Ring
      G08318091Courtesy of SUBARU OF AMERICA, INC.
  16. Install the drive pinion spacer to the drive pinion shaft.
    Fig 17: Identifying Drive Pinion Spacer
    G08318090Courtesy of SUBARU OF AMERICA, INC.
  17. Install the drive pinion washer.
    Fig 18: Installing Selected Drive Pinion Washer
    G08318107Courtesy of SUBARU OF AMERICA, INC.
  18. Insert the drive pinion shaft into the drive pinion retainer.
    CAUTION: Be careful not to damage the oil seal.
    Fig 19: Identifying Drive Pinion Shaft
    G08318088Courtesy of SUBARU OF AMERICA, INC.
  19. Install the inner bearing and lock nut.
    Fig 20: Installing Inner Bearing And Lock Nut
    G08318108Courtesy of SUBARU OF AMERICA, INC.
  20. Using the ST, tighten the lock nut to the specified torque so that the starting torque of the drive pinion shaft is within the specified range.
    CAUTION: Before inspecting the starting torque, apply differential gear oil to roller of bearing and rotate the bearing several times.
    NOTE:
    • Tighten the lock nut while directly aligning ST2 and torque wrench.
    • If the starting torque is not within the specified range, select the drive pinion washer, and repeat the step until the starting torque is within the specified range.
    • When a thicker drive pinion washer is selected, the starting torque decreases. When a thinner drive pinion washer is selected, the starting torque increases.

    Starting torque: 

    5.1 - 17.1 N (0.5 - 1.7 kgf, 1.1 - 3.8 lbf) 

    ST1 499787500 ADAPTER

    ST2 499787700 WRENCH

    ST3 498937110 HOLDER

    Using the following formula, calculate the tightening torque for a torque wrench.

    T2 = L2/(L1 + L2) x T1

    T1: 170 - 250 N.m (17.3 - 25.5 kgf-m, 125.4 - 184.4 ft-lb) [Specified tightening torque range]

    T2: Tightening torque

    L1: ST1 length 0.072 m (2.83 in)

    L2: Torque wrench length

    Example:

    Torque wrench length
    m (in)
    Tightening torque
    N.m (kgf-m, ft-lb)
    0.4 (15.75) 144 - 211 (14.7 - 21.5, 106.2 - 155.6)
    0.45 (17.72) 147 - 215 (15.0 - 21.9, 108.4 - 158.6)
    0.5 (19.69) 149 - 218 (15.2 - 22.2, 109.9 - 160.8)
    0.55 (21.65) 150 - 221 (15.3 - 22.5, 110.6 - 163.0)
    Fig 21: Removing Drive Pinion Shaft Assembly Lock Nut Using Special Tools
    G08318087Courtesy of SUBARU OF AMERICA, INC.
    Fig 22: Calculating Lock Nut Tightening Torque Using Torque Wrench
    G08318110Courtesy of SUBARU OF AMERICA, INC.
  21. Crimp the lock nut in 2 locations.
  22. Using the ST, install the plug.

    ST1 499755602 PRESS SNAP RING

    ST2 398177700 INSTALLER

    Fig 23: Installing Drive Pinion Shaft Assembly Plug Using Special Tools
    G08318118Courtesy of SUBARU OF AMERICA, INC.