LEMON Manuals: Even more car manuals for everyone
Home >> Subaru >> 2013 >> Outback Base, Standard Trans >> Repair and Diagnosis >> Engine Performance >> Engine Control Systems >> Fuel Injection System (H4DO) >> Fuel Tank >> Removal

Fuel Tank: Removal

WARNING: Place "NO OPEN FLAMES" signs near the working area.
CAUTION: Be careful not to spill fuel.
  1. Release the fuel pressure. Refer to RELEASING OF FUEL PRESSURE .
  2. Drain fuel. Refer to DRAINING FUEL (WITH SUBARU SELECT MONITOR) .
  3. Disconnect the ground cable from battery.
    Fig 1: Disconnecting Ground Cable From Battery
    G08579605Courtesy of SUBARU OF AMERICA, INC.
  4. Remove the rear seat cushion. Refer to REMOVAL .
  5. Remove the clips (A) and seat cushion hooks (B), and turn over the floor mat (C).
    Fig 2: Identifying Seat Cushion Hooks, Floor Mat And Clips
    G08579759Courtesy of SUBARU OF AMERICA, INC.
  6. Remove the service hole cover of fuel pump.
    1. Disconnect the fuel cord connector (A), and remove the clip (B).
    2. Remove the screw (C).
    3. Push the grommet (D) down and remove the service hole cover.
      Fig 3: Identifying Fuel Cord Connector, Grommet, Clip And Screw
      G08579760Courtesy of SUBARU OF AMERICA, INC.
  7. Remove the service hole cover of fuel sub level sensor.
    Fig 4: Locating Service Hole Cover Screws
    G08579761Courtesy of SUBARU OF AMERICA, INC.
  8. Disconnect the quick connector on the fuel delivery tube. Refer to REMOVAL .
    Fig 5: Locating Fuel Delivery Tube Quick Connector
    G08579762Courtesy of SUBARU OF AMERICA, INC.
  9. Remove the rear wheels.
  10. Lift up the vehicle.
  11. Remove the rear ABS wheel speed sensor from the rear housing.
    Fig 6: Locating Rear ABS Wheel Speed Sensor Bolt
    G08579763Courtesy of SUBARU OF AMERICA, INC.
  12. Remove the rear ABS wheel speed sensor harness bracket from the upper arm.
    Fig 7: Locating Rear ABS Wheel Speed Sensor Harness Bracket Bolts
    G08579764Courtesy of SUBARU OF AMERICA, INC.
  13. Remove the rear brake hose bracket from rear housing.
    Fig 8: Locating Rear Brake Hose Bracket Bolt
    G08579765Courtesy of SUBARU OF AMERICA, INC.
  14. Remove the rear disc brake assembly and tie it to the body side of the vehicle.
    Fig 9: Locating Rear Disc Brake Assembly Mounting Bolts
    G08579766Courtesy of SUBARU OF AMERICA, INC.
  15. Remove the parking brake cable from parking brake assembly. Refer to REMOVAL .
  16. Remove the rear exhaust pipe and muffler. Refer to REMOVAL and REMOVAL .
  17. Remove the propeller shaft. Refer to REMOVAL .
  18. Remove the clip (A) securing the fuel tank protector and heat shield cover.
  19. Remove the bolts (B) and nuts (C) securing the fuel tank protector, and remove the fuel tank protector.
    Fig 10: Identifying Fuel Tank Protector Clip, Bolts And Nuts
    G08579767Courtesy of SUBARU OF AMERICA, INC.
  20. Remove the bolts and nuts securing the heat shield cover and remove the heat shield cover.
    Fig 11: Locating Heat Shield Cover Bolts
    G08579768Courtesy of SUBARU OF AMERICA, INC.
  21. Remove the rear suspension assembly.
    WARNING: A helper is required to perform this work.
    1. Support the rear differential with the transmission jack.
    2. Remove the bolt and nut which secure rear shock absorber to rear suspension arm.
      Fig 12: Locating Rear Suspension Arm Nuts
      G08579769Courtesy of SUBARU OF AMERICA, INC.
    3. Remove the bolts which secure the rear suspension assembly to the body.
      Fig 13: Locating Rear Suspension Assembly To Body Bolts
      G08579770Courtesy of SUBARU OF AMERICA, INC.
    4. Remove the rear suspension assembly.
  22. Disconnect the air vent hose from the fuel tank.
    Fig 14: Locating Air Vent Hose Clamp
    G08579771Courtesy of SUBARU OF AMERICA, INC.
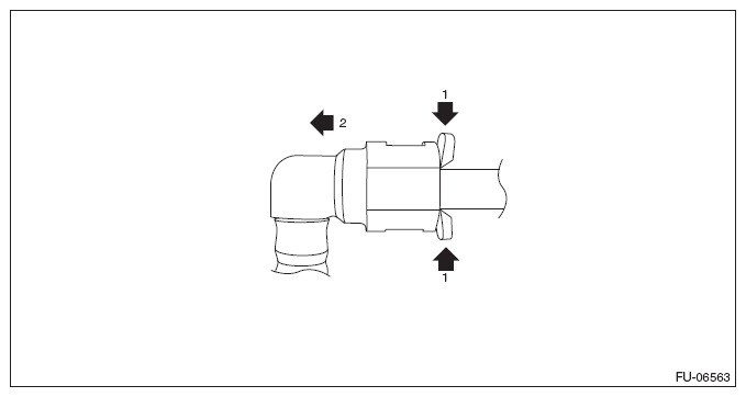
  23. Disconnect the quick connector of the circulate tube from evaporation pipe.
    NOTE: Disconnect the quick connector as shown in the figure.
    Fig 15: Disconnecting Quick Connector
    G08315576Courtesy of SUBARU OF AMERICA, INC.
    Fig 16: Locating Quick Connector
    G08579773Courtesy of SUBARU OF AMERICA, INC.
  24. Disconnect the fuel filler hose from the fuel filler pipe assembly.
    Fig 17: Locating Fuel Filler Hose Clamp
    G08579774Courtesy of SUBARU OF AMERICA, INC.
  25. Support the fuel tank with a transmission jack, remove the fuel tank band, and remove the fuel tank from the vehicle.
    WARNING:
    • A helper is required to perform this work.
    • Fuel may remain in the fuel tank. This will cause the left and right sides to be unbalanced. Be careful not to drop the fuel tank.
    Fig 18: Locating Fuel Tank Band Bolts
    G08579775Courtesy of SUBARU OF AMERICA, INC.