LEMON Manuals: Even more car manuals for everyone
Home >> Subaru >> 2013 >> Outback Base, Standard Trans >> Repair and Diagnosis >> Engine Performance >> Engine Control Systems >> Fuel Injection System (H4DO) >> Fuel Tank >> Installation

Fuel Tank: Installation

  1. Support the fuel tank with a transmission jack, set the fuel tank and the fuel tank band in place, and temporarily tighten the bolts of the fuel tank band.
    WARNING: A helper is required to perform this work.
    Fig 1: Locating Fuel Tank Band Bolts
    G08579775Courtesy of SUBARU OF AMERICA, INC.
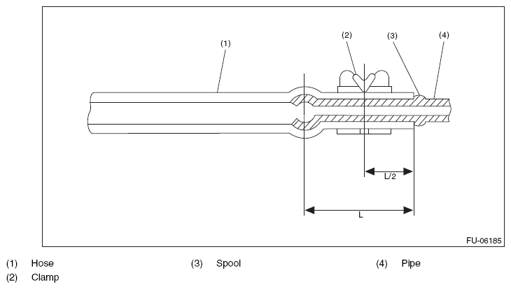
  2. Correctly insert the fuel filler hose to the spool, and then install the clamp as shown.

    Tightening torque: 

    2.5 N.m (0.3 kgf-m, 1.8 ft-lb) 

    Fig 2: Locating Fuel Filler Hose Clamp
    G08579774Courtesy of SUBARU OF AMERICA, INC.
    Fig 3: Identifying Hose, Spool, Pipe And Clamp
    G08579778Courtesy of SUBARU OF AMERICA, INC.
  3. Connect the quick connector of the circulate tube to the evaporation pipe as shown in the figure.
    CAUTION:
    • Check that there is no damage or dust on the quick connector. If necessary, clean the seal surface of the pipe.
    • Make sure that the quick connector is securely connected.
    Fig 4: Connecting Quick Connector
    G08579779Courtesy of SUBARU OF AMERICA, INC.
    Fig 5: Locating Quick Connector
    G08579773Courtesy of SUBARU OF AMERICA, INC.
  4. Connect the air vent hose to fuel tank.
    Fig 6: Locating Air Vent Hose Clamp
    G08579771Courtesy of SUBARU OF AMERICA, INC.
  5. Move the fuel tank so that the distance between the center of the positioning hole for the body (A) and the front end of the fuel tank flange (B) becomes L, and tighten the bolts of the fuel tank bands in the sequence shown in the figure.
    CAUTION: To prevent the fuel tank from damage, after tightening the bolts of the fuel tank bands, make sure that the distance between the center of the positioning hole for the body (A) and the front end of the fuel tank flange (B) is L.

    Distance L: Center of the positioning hole for the body (A) - Front end of the fuel tank flange (B) 14.5 mm (0.571 in) or less 

    Tightening torque: 

    33 N.m (3.4 kgf-m, 24.3 ft-lb) 

    Fig 7: Identifying Fuel Tank Bands Bolts Tightening Sequence
    G08579782Courtesy of SUBARU OF AMERICA, INC.
  6. Install the rear suspension assembly.
    WARNING: A helper is required to perform this work.
    1. Support the rear differential with the transmission jack.
    2. Support the rear suspension assembly and install the rear suspension assembly to the body.

      Tightening torque: 

      T1: 70 N.m (7.1 kgf-m, 51.6 ft-lb) 

      T2: 200 N.m (20.4 kgf-m, 147.5 ft-lb) 

      Fig 8: Locating Rear Suspension Assembly Bolts With Torque Specifications
      G08579783Courtesy of SUBARU OF AMERICA, INC.
    3. Install the rear shock absorber to the rear suspension arm.
      NOTE: Use a new self-locking nut.

      Tightening torque: 

      120 N.m (12.2 kgf-m, 88.5 ft-lb) 

      Fig 9: Locating Rear Suspension Arm Nuts
      G08579769Courtesy of SUBARU OF AMERICA, INC.
  7. Install the heat shield cover.

    Tightening torque: 

    18 N.m (1.8 kgf-m, 13.3 ft-lb) 

    Fig 10: Locating Heat Shield Cover Bolts
    G08579768Courtesy of SUBARU OF AMERICA, INC.
  8. Install the bolts (B) and nuts (C) securing the fuel tank protector and install the clip (A) securing the fuel tank protector and heat shield cover.
    NOTE: Use a new self-locking nut.

    Tightening torque: 

    Nut (C): 9 N.m (0.9 kgf-m, 6.6 ft-lb) 

    Bolt (B): 18 N.m (1.8 kgf-m, 13.3 ft-lb) 

    Fig 11: Identifying Fuel Tank Protector Clip, Bolts And Nuts
    G08579767Courtesy of SUBARU OF AMERICA, INC.
  9. Install the propeller shaft. Refer to INSTALLATION .
  10. Install the rear exhaust pipe and muffler. Refer to INSTALLATION . Refer to INSTALLATION .
  11. Lower the vehicle.
  12. Connect the parking brake cable to the parking brake assembly. Refer to INSTALLATION .
  13. Install the rear disc brake assembly.

    Tightening torque: 

    66 N.m (6.7 kgf-m, 48.7 ft-lb) 

    Fig 12: Locating Rear Disc Brake Assembly Mounting Bolts
    G08579787Courtesy of SUBARU OF AMERICA, INC.
  14. Install the rear brake hose bracket to the rear housing.

    Tightening torque: 

    33 N.m (3.4 kgf-m, 24.3 ft-lb) 

    Fig 13: Locating Rear Brake Hose Bracket Mounting Bolts
    G08579765Courtesy of SUBARU OF AMERICA, INC.
  15. Install the rear ABS wheel speed sensor harness bracket to the upper arm.
    NOTE: Prevent the harness identification (line) from being twisted when installing. Refer to SPECIFICATION .

    Tightening torque: 

    7.5 N.m (0.8 kgf-m, 5.5 ft-lb) 

    Fig 14: Locating Rear ABS Wheel Speed Sensor Harness Bracket Bolts
    G08579764Courtesy of SUBARU OF AMERICA, INC.
  16. Attach the rear ABS wheel speed sensor to the rear housing.
    NOTE: Prevent the harness identification (line) from being twisted when installing. Refer to SPECIFICATION .

    Tightening torque: 

    7.5 N.m (0.8 kgf-m, 5.5 ft-lb) 

    Fig 15: Locating Rear ABS Wheel Speed Sensor To Rear Housing Bolts
    G08579763Courtesy of SUBARU OF AMERICA, INC.
  17. Install the rear wheels.

    Tightening torque: 

    120 N.m (12.2 kgf-m, 88.5 ft-lb) 

  18. Connect the quick connector of the fuel delivery tube. Refer to INSTALLATION .
    Fig 16: Locating Fuel Delivery Tube Quick Connector
    G08579762Courtesy of SUBARU OF AMERICA, INC.
  19. Install the service hole cover of fuel sub level sensor.
    Fig 17: Locating Service Hole Cover Screws
    G08579761Courtesy of SUBARU OF AMERICA, INC.
  20. Attach the service hole cover of the fuel pump, and attach the connector and clip.
    Fig 18: Identifying Connector, Clip, Screw And Grommet
    G08579793Courtesy of SUBARU OF AMERICA, INC.
  21. Set the floor mat (C), and install clips (A) and seat cushion hooks (B).
    Fig 19: Identifying Seat Cushion Hooks, Floor Mat And Clips
    G08579759Courtesy of SUBARU OF AMERICA, INC.
  22. Install the rear seat cushion. Refer to INSTALLATION .
  23. Connect the battery ground terminal.
    Fig 20: Connecting Battery Ground Terminal
    G08579605Courtesy of SUBARU OF AMERICA, INC.
  24. Inspect the wheel alignment and adjust if necessary.