LEMON Manuals: Even more car manuals for everyone
Home >> Subaru >> 2013 >> Outback Base, Standard Trans >> Repair and Diagnosis (Single Page) >> Accessories & Equipment >> Wiper/Washer Systems >> Wiper System & Washer System >> General Description >> Preparation Tool >> General Tool

General Tool

TOOL NAME REMARKS
Circuit tester Used for checking voltage and continuity.
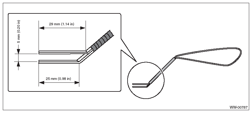
NOTE: Refer to the data described below, prepare the materials to make a front washer nozzle adjustment tool.
Fig 1: Identifying Front Washer Nozzle Adjustment Tool Dimension
G08316514Courtesy of SUBARU OF AMERICA, INC.

Materials

Steps of making a front washer nozzle adjustment tool

Fig 2: Front Washer Nozzle Adjustment Tool Steps Chart
G08316515Courtesy of SUBARU OF AMERICA, INC.
  1. Bend the vertebra at the position 25 mm (0.98 in) away from its end by 45°.
  2. Bend the vertebra at the position 29 mm (1.14 in) away from the other end by 45°.
  3. Double up the vertebra so that the longer end (29 mm (1.14 in)) comes upward.
  4. Secure the vertebra with a vise (a) so that the tip clearance becomes 5 mm (0.20 in).
  5. Bend the vertebra at the position approximately 90 mm (3.54 in) away from the bending point for the longer end.
  6. Check that the tip clearance is 5 mm (0.20 in), and secure the vertebra with vinyl tape (b).