LEMON Manuals: Even more car manuals for everyone
Home >> Subaru >> 2013 >> Forester X, Automatic Trans >> Repair and Diagnosis >> Engine Performance >> Engine Control Systems >> Fuel Injection System (H4DO) >> Fuel Level Sensor >> Inspection

Fuel Level Sensor: Inspection

  1. Check that the fuel level sensor has no damage.
  2. Measure the fuel level sensor float position.
    NOTE: When inspecting the fuel level sensor, perform the work with the sensor installed to the fuel pump.
    Fig 1: Identifying Fuel Level Sensor Float Position (Full, Empty And Fuel Tank Seating Surface)
    G08562763Courtesy of SUBARU OF AMERICA, INC.
    Float position Standard
    FULL to Fuel tank seating surface (A) 126.4±4 mm (4.976±0.157 in)
    EMPTY to Fuel tank seating surface (B) 11.0±4 mm (0.433±0.157 in)
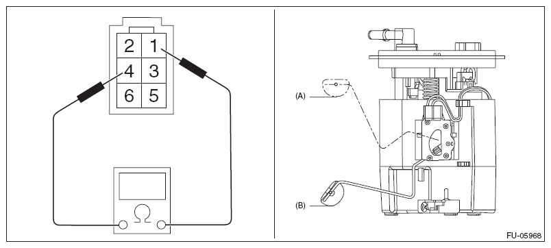
  3. Measure the resistance between fuel level sensor terminals.
    Fig 2: Measuring Resistance Between Fuel Level Sensor Terminals 1 And 4
    G08562764Courtesy of SUBARU OF AMERICA, INC.
    Float position Terminal No. Standard
    FULL (A) 1 and 4 2.0+0.5 -1.0 Ω
    EMPTY (B) 31.9±1.0 Ω