LEMON Manuals: Even more car manuals for everyone
Home >> Subaru >> 2012 >> Outback Base, Standard Trans >> Repair and Diagnosis >> Transmission >> Transmission Control Systems >> A/T & M/T Control Systems >> MT Gear Select Cable >> Inspection

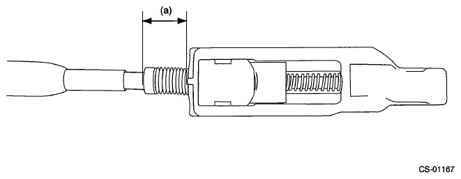
MT Gear Select Cable: Inspection

  1. Check that exposed length (a) of MT gear select cable is within specification.

    Exposed length (a) of MT gear select cable: 

    Specification: 11 mm (0.4 in) 

    Fig 1: Measuring Exposed Length Of MT Gear Select Cable
    G06651819Courtesy of SUBARU OF AMERICA, INC.
  2. If it is not within the specification, perform the adjustment. Refer to , ADJUSTMENT , MT Gear Select Cable.