LEMON Manuals: Even more car manuals for everyone
Home >> Subaru >> 2012 >> Outback Base, Standard Trans >> Repair and Diagnosis >> Steering >> Power Steering >> Power Assisted System Power Steering >> Steering Gearbox >> Assembly

Steering Gearbox: Assembly

  1. Secure the gearbox to the ST.
    CAUTION: Secure the gearbox assembly in a vise using ST as shown. Do not secure the gearbox without this ST.

    PREPARATION TOOL: 

    ST1: STAND (926200000) 

    ST2: BOSS D (34199AG000) 

    1. Replace BOSS of STAND (ST1) with BOSS D (ST2).
    2. Using the clamp (a) removed from vehicle body, attach the gearbox assembly to ST.
      Fig 1: Securing Gearbox Assembly In Vise Using ST
      G07914323Courtesy of SUBARU OF AMERICA, INC.
  2. Apply a coat of grease to needle bearing.
    CAUTION: Make sure the needle bearing is free from defects. If it is faulty, replace the steering body with a new part.
  3. Install the oil seal.
    1. Apply a coat of grease to the inside and outside of the new oil seal.

      Steering grease: 

      VALIANT GREASE M2 

    2. Verify the direction of the oil seal and installation position.
    3. Using the ST and a press, press-fit the oil seal (a) into the gearbox.
      CAUTION:
      • Make sure to press fit the oil seal in all the way.
      • The gap between the gearbox end face and the ST is to be approximately 4 mm (0.157 in) after press fitting.

      PREPARATION TOOL: 

      ST: GEARBOX OIL SEAL INSTALLER (34199AE130) 

      Fig 2: Identifying ST - Gearbox Oil Seal Installer (34199AE130)
      G07914342Courtesy of SUBARU OF AMERICA, INC.
  4. Using the ST, install the inner oil seal (a) to the rack.
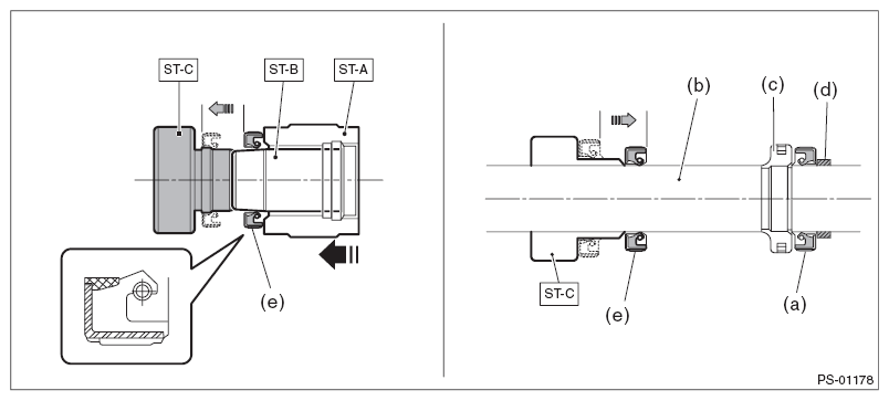
    1. Using (ST-A) and (ST-B), install the inner oil seal (a) to (ST-C).
      CAUTION: Pay attention to the orientation of the oil seal.

      PREPARATION TOOL: 

      ST: INSTALLER A, B, C (34199FE040) 

      Fig 3: Installing Inner Oil Seal To Rack Using ST
      G07914343Courtesy of SUBARU OF AMERICA, INC.
    2. Insert (ST-C) with oil seal assembled from the gear side of rack (b).
    3. Remove the inner oil seal (a) from (ST-C) near piston (c), and then remove (ST-C) from rack.
    4. Install the back-up washer (d) from the gear side of rack (b).
      Fig 4: Installing Back-Up Washer From Gear Side Of Rack
      G07914344Courtesy of SUBARU OF AMERICA, INC.
  5. Then insert the rack into steering body.
    1. Apply a coat of grease to the grooves in rack, sliding surface of sleeve and sealing surface of piston.
    2. Then insert the rack into steering body from cylinder side.
    3. Temporarily tighten the holder (a) to gearbox cylinder.
      Fig 5: Identifying Holder
      G07914332Courtesy of SUBARU OF AMERICA, INC.
      NOTE: For temporarily tightening, reuse the holder removed during disassembly.
    4. Place a mark (b) at the location 9 mm (0.35 in) from the ST end surface.

      PREPARATION TOOL: 

      ST: INSTALLER & REMOVER (34199FE000) 

    5. Set the ST to the end of rack.
    6. Using a press, press-fit until the mark (b) on the ST is aligned with the end surface of the holder.
      Fig 6: Pressing Fit St With End Surface Of Holder
      G07914346Courtesy of SUBARU OF AMERICA, INC.
    7. Remove the ST and temporarily tightened holder.
  6. Insert the outer oil seal (e) into the rack using the same procedure as step  4.
    1. Using (ST-A) and (ST-B), install the outer oil seal (e) to (ST-C).
      CAUTION: Pay attention to the orientation of the oil seal.

      PREPARATION TOOL: 

      ST: INSTALLER A, B, C (34199FE040) 

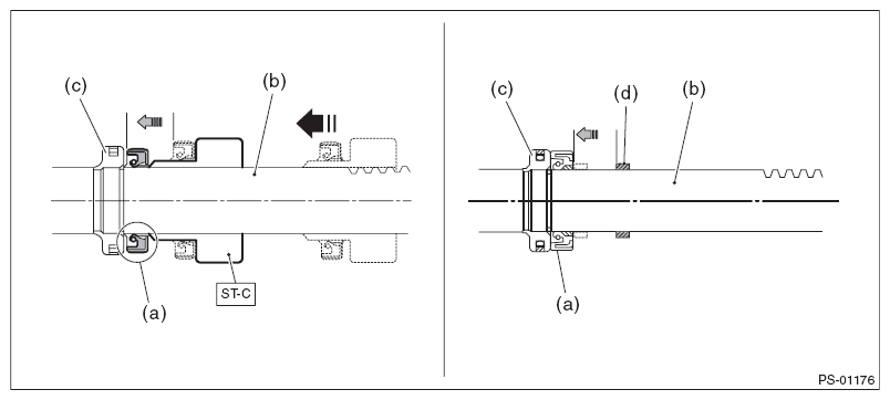
    2. Insert (ST-C) with outer oil seal (e) assembled into the rack (b).
    3. Remove the outer oil seal (e) from (ST-C), and then remove (ST-C) from rack (b).
      Fig 7: Removing Outer Seal
      G07914347Courtesy of SUBARU OF AMERICA, INC.
    4. Make the ST1 pass through the rack, and then press in the rack and ST2 using a press.
    5. Press in the outer oil seal (e) until ST1 and ST2 contact each other, and the rack end face is aligned with the end face of ST.

      PREPARATION TOOL: 

      ST1: GUIDE (34199FE050) 

      ST2: INSTALLER (34199FE060) 

      Fig 8: Pressing Outer Oil Seal
      G07914348Courtesy of SUBARU OF AMERICA, INC.
  7. Install the holder (a) to the steering body (b).
    1. Install a new holder to the cylinder side of steering body.

      Tightening torque: 

      75 N.m (7.65 kgf-m, 55.3 ft-lb) 

    2. Using the ST, crimp one location less than 3 mm (0.12 in) from the holder.
      CAUTION: Be careful not to deform the holder.

      PREPARATION TOOL: 

      ST1: PUNCH HOLDER (34099FA060) 

      ST2: BASE (34199FE020) 

      Fig 9: Identifying Holder Crimping Distance
      G07914349Courtesy of SUBARU OF AMERICA, INC.
  8. Install the valve assembly.
    1. Replace the O-ring (c) of plug (b) circumference with a new O-ring.
    2. Apply grease on the oil seal (a) circumference, and then press it into the plug using ST1 and a press.
      CAUTION:
      • Install the oil seal paying attention to correct direction.
      • Make sure to press fit the oil seal in all the way.
      • The gap between the plug and the ST is to be approximately 1 mm (0.039 in) after press fitting.

      PREPARATION TOOL: 

      ST1: OIL SEAL PLUG INSTALLER (34199AE110) 

      Fig 10: Pressing Oil Seal Into Plug Using ST1
      G07914350Courtesy of SUBARU OF AMERICA, INC.
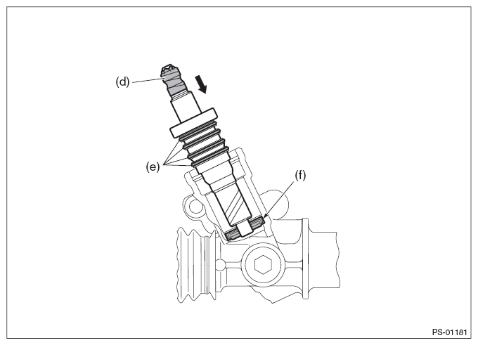
    3. Roll a vinyl tape (d) on the serration portion of valve assembly, and then apply grease on the tape surface.
    4. Apply a coat of grease on the gear teeth of the valve assembly, and then attach the valve assembly.
      CAUTION: Be careful not to scratch the oil seals (e) and seal ring (f).
      Fig 11: Installing Valve Assembly
      G07914351Courtesy of SUBARU OF AMERICA, INC.
    5. Attach the plug (g) using ST2.

      PREPARATION TOOL: 

      ST2: PLUG-WRENCH (34199AE090) 

      Fig 12: Attaching Plug Using ST2
      G07914352Courtesy of SUBARU OF AMERICA, INC.

      Tightening torque: 

      64 N.m (6.53 kgf-m, 47.2 ft-lb) 

    6. Install the dust cover (h), and remove the vinyl tape (d).
  9. Temporarily tighten the tie-rod to the rack end, and then operate the rack from lock to lock for two or three times to make it fit in.
    CAUTION: If operating the rack from lock to lock without installing tie-rods, it may damage the oil seal. Always install the tie-rods LH and RH.
  10. Install the adjusting screw to the steering body.
    1. Apply liquid gasket to 1/3 or more (A) of entire perimeter of adjusting screw thread (c).

      Liquid gasket: 

      THREE BOND 1102 or THREE BOND 1215 

    2. Apply a coat of grease to the sliding surface (B) of sleeve (a) and seating surface (C) of spring (b), and then insert the sleeve into steering body.
    3. Charge the adjusting screw with grease (D), and then insert the spring into adjusting screw. Then install on the steering body.
      Fig 13: Identifying Grease Applying Areas Of Sliding Surface Of Sleeve And Seating Surface Of Spring
      G07914353Courtesy of SUBARU OF AMERICA, INC.
    4. Tighten the adjusting screw to the specified torque, then loosen it.

      Tightening torque: 

      9.8 N.m (1.0 kgf-m, 7.2 ft-lb) 

    5. Tighten the adjusting screw to the specified torque, then loosen it.

      Tightening torque: 

      4.9 N.m (0.5 kgf-m, 3.6 ft-lb) 

    6. Tighten the adjusting screw to the specified torque, then loosen it approx. 30°.
      CAUTION: Do not loosen 37° or more.

      Tightening torque: 

      4.9 N.m (0.5 kgf-m, 3.6 ft-lb) 

  11. Remove the tie-rod which was temporarily tightened in step  9.
  12. Check that play and looseness are within specifications. Refer to , SERVICE LIMIT , INSPECTION, Steering Gearbox.
  13. While holding the adjusting screw (a) with a wrench, tighten the lock nut using ST.
    CAUTION: Make sure that the screw is not turning while tightening the lock nut.

    PREPARATION TOOL: 

    ST: SPECIAL TOOL CPS LHD (34199AJ000) 

    Tightening torque (lock nut): 

    39 N.m (3.98 kgf-m, 28.8 ft-lb) 

  14. Install the tie-rod into rack.
    CAUTION: Check the mating face of rack and tie-rod for foreign matter such as dust etc.

    Tightening torque: 

    90 N.m (9.18 kgf-m, 66.4 ft-lb) 

  15. Install the boot to the housing.
    1. Apply a coat of grease to the tie-rod groove, and then install the boot to the housing.
      CAUTION: Make sure that the boot is installed properly without unusual inflation or deflation.
      Fig 14: Identifying Grease Applying Areas Of Tie-Rod Groove
      G05957322Courtesy of SUBARU OF AMERICA, INC.
    2. Using the boot clamp pliers, crimp the boot so that the clearance (b) of the boot band (a) crimp portion becomes 2 mm (0.08 in) or less.
      CAUTION: Use a new boot band.
      Fig 15: Identifying Boot Band Clearance
      G07914355Courtesy of SUBARU OF AMERICA, INC.
    3. Fix the boot end with small clip (1).
      Fig 16: Fixing Boot End Using Small Clip
      G07914356Courtesy of SUBARU OF AMERICA, INC.
    4. After installing, check that the boot end is installed to the groove of the tie-rod.
    5. If the tie-rod end has been removed, screw in lock nut and tie-rod end to the screwed portion of tie-rod, and tighten the lock nut temporarily in a position as shown in the figure.

      Installed tie-rod length L: 

      24 mm (0.9 in) 

      Fig 17: Identifying Installed Tie-Rod Length
      G05032954Courtesy of SUBARU OF AMERICA, INC.
  16. Inspect the gearbox as follows:
    • "A" Holding the tie-rod end, repeat lock to lock several times as quickly as possible.
    • "B" Holding the tie-rod end, turn it slowly at a radius several times as large as possible.
    • Finally, make sure that the boot is installed in the specified position without inflating.
      Fig 18: Inspecting Gearbox
      G05032955Courtesy of SUBARU OF AMERICA, INC.
  17. Remove the ST (STAND and BOSS D) from gearbox.
  18. Attach the 4 pipes to the steering body and control valve housing.