LEMON Manuals: Even more car manuals for everyone
Home >> Subaru >> 2012 >> Outback Base, Standard Trans >> Repair and Diagnosis >> External Pages >> Different variant/trim >> Section 7 (Continuously Variable Transmission) >> Transfer Reduction Driven Gear >> Adjustment

Transfer Reduction Driven Gear: Adjustment

WARNING: This page is about a different variant/trim than selected.
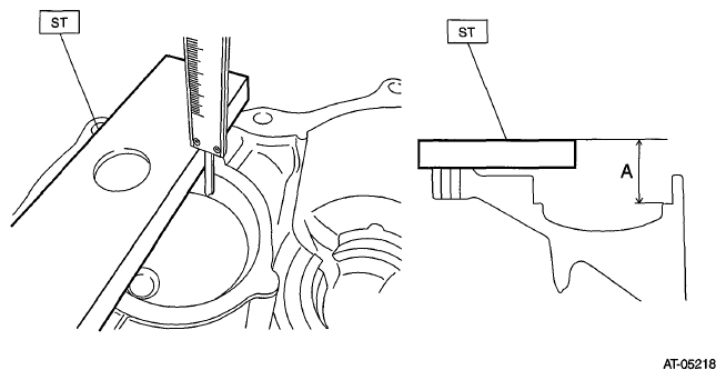
  1. Measure depth "A" from the ST upper face to the ball bearing catch surface.

    ST 398643600 GAUGE

    Fig 1: Measuring Distance Between Gauge Upper Face With Ball Bearing Catch Surface
    G06654538Courtesy of SUBARU OF AMERICA, INC.
  2. Measure height "B" from the ST to the end of the ball bearing outer ring.

    ST 398643600 GAUGE

    Fig 2: Measuring Distance Between Gauge And End Of Ball Bearing Outer Ring
    G06654539Courtesy of SUBARU OF AMERICA, INC.
  3. Obtain the thickness of shim using the following formula to select none to two shims.

    T mm = (A - 15) - (B + 15) - (0.05 - 0.25)

    [T in = (A - 0.591) - (B + 0.591) - (0.002 - 0.01)]

    T: Shim thickness

    A: Depth from the ST upper face to the ball bearing catch surface

    B: Height from the ST to the end of the ball bearing outer ring

    15 mm (0.591 in): Thickness of ST

    0.05 - 0.25 mm (0.002 - 0.01 in): Clearance

    Shim
    Part number Thickness mm (in)
    31288AA190 0.2 (0.008)
    31288AA200 0.3 (0.012)
    31288AA210 0.5 (0.02)