LEMON Manuals: Even more car manuals for everyone
Home >> Subaru >> 2012 >> Outback Base, Standard Trans >> Repair and Diagnosis >> External Pages >> Different variant/trim >> Section 7 (Continuously Variable Transmission) >> Front Reduction Drive Gear >> Disassembly

Front Reduction Drive Gear: Disassembly

WARNING: This page is about a different variant/trim than selected.
  1. Remove the seal ring and O-ring.
    Fig 1: Locating Seal Ring And O-Ring
    G06654769Courtesy of SUBARU OF AMERICA, INC.
  2. Using the ST, remove the ball bearing from front reduction drive gear.

    ST 899864100 REMOVER

    Fig 2: Identifying Ball Bearing With Remover On Front Reduction Drive Gear
    G06654770Courtesy of SUBARU OF AMERICA, INC.
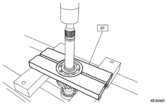
  3. Using the ST, remove the ball bearing from front reduction drive gear.

    ST 498077000 REMOVER

    Fig 3: Identifying Ball Bearing With Remover On Front Reduction Drive Gear
    G06654771Courtesy of SUBARU OF AMERICA, INC.