LEMON Manuals: Even more car manuals for everyone
Home >> Subaru >> 2012 >> Outback Base, Standard Trans >> Repair and Diagnosis >> External Pages >> Different variant/trim >> Section 7 (Continuously Variable Transmission) >> Front Differential Assembly >> Disassembly >> Side Retainer

Side Retainer

WARNING: This page is about a different variant/trim than selected.
NOTE: After adjusting the drive pinion backlash and tooth contact, replace the oil seal and O-ring with new parts.
  1. Remove the O-ring.
    Fig 1: Identifying O-Ring
    G06654717Courtesy of SUBARU OF AMERICA, INC.
  2. Remove the oil seal.
    Fig 2: Identifying Oil Seal
    G07913664Courtesy of SUBARU OF AMERICA, INC.
  3. Remove the split pin (ST), and then remove the claw.

    ST 398527700 PULLER ASSY

    Fig 3: Identifying Claw, Split Pin And Pin
    G07913665Courtesy of SUBARU OF AMERICA, INC.
  4. Attach two claws to the outer race, and set the ST to side retainer.

    ST 398527700 PULLER ASSY

    Fig 4: Identifying Shaft And Claw
    G07913666Courtesy of SUBARU OF AMERICA, INC.
  5. Restore the removed claws to original position, and install the pin and split pin.
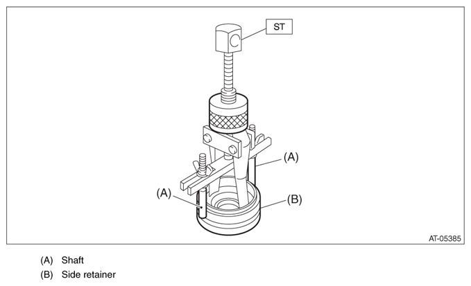
  6. Hold the shaft of ST to avoid removing from side retainer, and then remove the bearing outer race.

    ST 398527700 PULLER ASSY

    NOTE: Replace the bearing inner and outer races as a single unit.
    Fig 5: Identifying Shaft And Side Retainer
    G07913667Courtesy of SUBARU OF AMERICA, INC.