LEMON Manuals: Even more car manuals for everyone
Home >> Subaru >> 2012 >> Outback Base, Standard Trans >> Repair and Diagnosis >> External Pages >> Different variant/trim >> Section 7 (Continuously Variable Transmission) >> Forward Clutch Assembly >> Assembly

Forward Clutch Assembly: Assembly

WARNING: This page is about a different variant/trim than selected.
  1. Install the forward clutch piston to forward clutch drum.
    NOTE:
    • Apply CVTF to the seal of forward clutch piston.
    • Insert it all the way to the end.
      Fig 1: Installing Forward Clutch Piston To Forward Clutch Drum
      G06654585Courtesy of SUBARU OF AMERICA, INC.
  2. Install the return spring.
    Fig 2: Identifying Clutch Assembly With Return Spring
    G06654583Courtesy of SUBARU OF AMERICA, INC.
  3. Install the forward clutch piston seal.
    NOTE: Apply CVTF to the sealing area of forward clutch piston seal.
    Fig 3: Identifying Clutch Assembly With Forward Clutch Piston Seal
    G06654582Courtesy of SUBARU OF AMERICA, INC.
  4. Compress the return spring using the ST to install the snap ring.

    ST 18762AA000 COMPRESSOR SPECIAL TOOL

    Fig 4: Identifying Return Spring With Compressor Special Tool
    G06654581Courtesy of SUBARU OF AMERICA, INC.
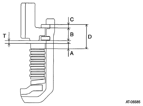
  5. Measure thickness "A" of the retaining plate installed.
    Fig 5: Measuring Thickness Of Retaining Plate
    G06654589Courtesy of SUBARU OF AMERICA, INC.
  6. Measure thickness "B" of internal gear on the workbench.
    Fig 6: Identifying Thickness Of Internal Gear On Workbench
    G06654590Courtesy of SUBARU OF AMERICA, INC.
  7. Measure thickness "C" of labelled or marked snap ring.
    Fig 7: Measuring Thickness Of Labelled Snap Ring
    G06654591Courtesy of SUBARU OF AMERICA, INC.
  8. Install the dish plate, drive plate and driven plate.
  9. Install the snap ring at the location (upper groove) indicated in the figure.
    Fig 8: Identifying Snap Ring Installation Location
    G06654592Courtesy of SUBARU OF AMERICA, INC.
  10. Measure depth "D" of snap ring and driven plate while lifting the snap ring.
    Fig 9: Identifying Snap Ring And Driven Plate Depth
    G06654593Courtesy of SUBARU OF AMERICA, INC.
  11. Calculate clearance "T" from internal gear to retaining plate with the obtained value from step  5) through step  10).

    Formula: T mm (in) = D - A - B - C

    Fig 10: Identifying Clearance Between Internal Gear And Retaining Plate
    G06654594Courtesy of SUBARU OF AMERICA, INC.
  12. If the value "T" obtained from step  11) exceeds the limit for use, replace the drive plate and driven plate with new parts and select the retaining plate within the initial standard value.

    Initial standard: 

    1.2 - 1.6 mm (0.047 - 0.063 in) 

    Limit thickness: 

    2.4 mm (0.09 in) 

    Retaining plate
    Item number Thickness mm (in)
    31567AB670 3.2 (0.126)
    31567AB660 3.0 (0.118)
    31567AB650 2.8 (0.110)
    31567AB640 2.6 (0.102)
  13. Remove the snap ring.
    Fig 11: Identifying Clutch Assembly Without Snap Ring
    G06654592Courtesy of SUBARU OF AMERICA, INC.
  14. Replace with the selected retaining plate.
  15. Install the snap ring to the lower groove.
    Fig 12: Identifying Clutch Assembly With Snap Ring At Lower Groove
    G06654579Courtesy of SUBARU OF AMERICA, INC.
  16. Install the thrust needle bearing.
    NOTE: Install the thrust needle bearing in the correct direction.
    Fig 13: Identifying Correct Direction Of Thrust Needle Bearing
    G06654597Courtesy of SUBARU OF AMERICA, INC.
  17. Install the washer.
    Fig 14: Installing Washer
    G06654577Courtesy of SUBARU OF AMERICA, INC.
  18. Install the sun gear.
    Fig 15: Identifying Clutch Assembly With Sun Gear
    G06654576Courtesy of SUBARU OF AMERICA, INC.
  19. Install the internal gear.
    Fig 16: Identifying Clutch Assembly With Internal Gear
    G06654575Courtesy of SUBARU OF AMERICA, INC.
  20. Install the snap ring.
  21. Install the thrust needle bearing.
    NOTE: Make sure to install in the right direction.
    Fig 17: Identifying Clutch Assembly With Snap Ring
    G06654573Courtesy of SUBARU OF AMERICA, INC.
  22. Install the planetary carrier assembly.
    Fig 18: Identifying Planetary Carrier Assembly
    G06654572Courtesy of SUBARU OF AMERICA, INC.