LEMON Manuals: Even more car manuals for everyone
Home >> Subaru >> 2012 >> Outback Base, Standard Trans >> Repair and Diagnosis >> External Pages >> Different car >> Section 19 (Lighting System) >> Day Time Running Light System >> Inspection >> Low Beam Relay

Low Beam Relay

WARNING: This page is about a different car, the 2011 Subaru Tribeca. However, it is still accessible from the selected car via links, so may be relevant.

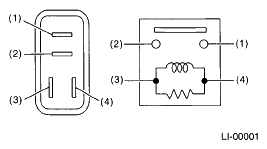
Measure the resistance between the daytime running relay terminals when connecting terminal No. 4 to the battery positive terminal and terminal No. 3 to the battery ground terminal.

Fig 1: Identifying Headlight Relay Terminals
G05004074Courtesy of SUBARU OF AMERICA, INC.
TERMINALS CONTINUITY CHART

Continuity Terminal No. Standard
Yes 1 and 2 Less than 1 Ω
No 1 MΩ or more