LEMON Manuals: Even more car manuals for everyone
Home >> Subaru >> 2012 >> Outback Base, Automatic CVT Trans >> Repair and Diagnosis (Single Page) >> Engine Performance >> Engine Control Systems >> Fuel Injection Fuel Systems (H4SO) >> Intake Manifold >> Removal >> Intake Manifold

Intake Manifold

  1. Release the fuel pressure. Refer to RELEASING OF FUEL PRESSURE , PROCEDURE, Fuel.
  2. Disconnect the ground cable from battery.
    Fig 1: Disconnecting Ground Cable From Battery
    G07909618Courtesy of SUBARU OF AMERICA, INC.
  3. Open the fuel filler lid and remove the fuel filler cap.
  4. Remove the air intake boot assembly. Refer to AIR INTAKE BOOT .
  5. Disconnect the connector from the ignition coil of #3 cylinder.
    Fig 2: Identifying Ignition Coil Connector
    G00525079Courtesy of SUBARU OF AMERICA, INC.
  6. Remove the intake manifold protector RH.
    Fig 3: Locating Intake Manifold Protector RH Bolts
    G06648249Courtesy of SUBARU OF AMERICA, INC.
  7. Remove the connector (A) from the fuel injector, and remove the fuel delivery pipe (B) from the fuel gallery RH.
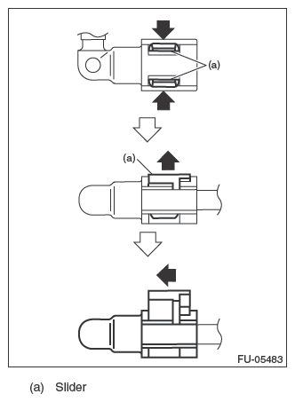
    NOTE: Disconnect the quick connector as shown in the figure.
    Fig 4: Disconnecting Quick Connector
    G07909621Courtesy of SUBARU OF AMERICA, INC.
    Fig 5: Identifying Fuel Injector Connector And Fuel Delivery Pipe
    G00525080Courtesy of SUBARU OF AMERICA, INC.
  8. Disconnect the fuel delivery hose (A) and evaporation hose (B).
    CAUTION:
    • Be careful not to spill fuel.
    • Catch the fuel from hoses using a container or cloth.
    1. Attach ST to the fuel delivery pipe and push ST in the direction of arrow mark to disconnect the quick connector of the fuel delivery hose (A).

      ST 42099AE000 QUICK CONNECTOR RELEASE

    2. Remove the clip and disconnect the evaporation hose (B) from the pipe.
    Fig 6: Disconnecting Quick Connector Of Fuel Delivery Hose
    G00525081Courtesy of SUBARU OF AMERICA, INC.
  9. Remove the generator cable clip (A) from the intake manifold protector LH.
  10. Remove the oil filler pipe (B) from the rocker cover LH.
  11. Disconnect the brake booster vacuum hose (C).
    Fig 7: Identifying Generator Cable Clip, Oil Filler Pipe And Brake Booster Vacuum Hose With Bolts
    G06648252Courtesy of SUBARU OF AMERICA, INC.
  12. Disconnect the connector from the ignition coil of #2 cylinder.
    Fig 8: Identifying Ignition Coil Connector
    G00525082Courtesy of SUBARU OF AMERICA, INC.
  13. Remove the intake manifold protector LH.
    Fig 9: Locating Intake Manifold Protector LH Bolts
    G00525083Courtesy of SUBARU OF AMERICA, INC.
  14. Remove the connector (A) from the fuel injector, and remove the fuel delivery pipe (B) from the fuel gallery LH.
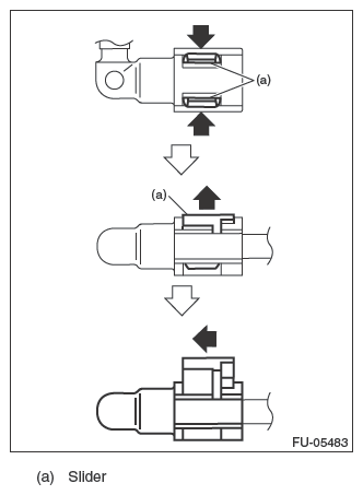
    NOTE: Disconnect the quick connector as shown in the figure.
    Fig 10: Disconnecting Quick Connector
    G07909627Courtesy of SUBARU OF AMERICA, INC.
    Fig 11: Identifying Fuel Injector Connector And Fuel Delivery Pipe
    G00525084Courtesy of SUBARU OF AMERICA, INC.
  15. Remove the clip (A) securing the engine harness to the intake manifold, and remove the bolt (B) securing the LH side of the multifunction duct assembly.
    Fig 12: Identifying LH Multifunction Duct Assembly Bolts And Intake Manifold Clip
    G06648256Courtesy of SUBARU OF AMERICA, INC.
  16. Remove the bolts (A) which secure the RH side of multi-function duct assembly to the intake manifold.
  17. Remove the cap (B) from the intake manifold.
    Fig 13: Identifying RH Multifunction Duct Assembly Bolts And Cap
    G00525085Courtesy of SUBARU OF AMERICA, INC.
  18. Remove the intake manifold from cylinder head.
  19. Remove the fuel gallery RH and fuel injector from the intake manifold.
    Fig 14: Locating Fuel Gallery RH And Fuel Injector Bolts
    G06648258Courtesy of SUBARU OF AMERICA, INC.
  20. Remove the fuel gallery LH, fuel pipe and fuel injector from the intake manifold.
Fig 15: Locating Fuel Gallery LH, Fuel Pipe And Fuel Injector Bolts
G06648259Courtesy of SUBARU OF AMERICA, INC.