LEMON Manuals: Even more car manuals for everyone
Home >> Subaru >> 2010 >> Outback R >> Repair and Diagnosis >> Transmission >> Transmission Control Systems >> A/T & M/T Control Systems >> Select Cable >> Adjustment

Select Cable: Adjustment

  1. Set the vehicle on a lift.
  2. Shift the select lever to "N" range.
  3. Lift up the vehicle.
  4. Remove the front exhaust pipe and rear exhaust pipe.
    • 2.5 L non-turbo model

      Ref. to REMOVAL , Front Exhaust Pipe. Ref. to REMOVAL , Rear Exhaust Pipe.

    • 3.6 L model

      Ref. to REMOVAL , Front Exhaust Pipe. Ref. to REMOVAL , Rear Exhaust Pipe.

  5. Remove the heat shield cover.
    Fig 1: Identifying Heat Shield Cover
    G06651705Courtesy of SUBARU OF AMERICA, INC.
  6. Loosen the nuts on both sides.
    Fig 2: Identifying Cable Nut
    G06651760Courtesy of SUBARU OF AMERICA, INC.
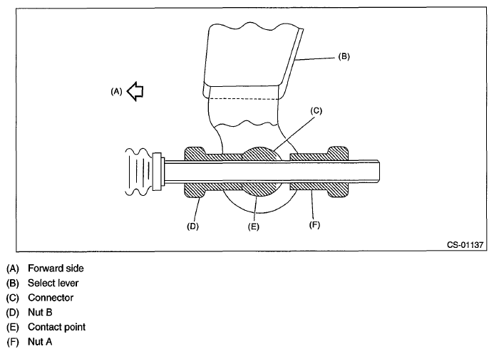
  7. Turn the nut B until it lightly touches the connector.
    Fig 3: Identifying Select Lever And Contact Point
    G06651761Courtesy of SUBARU OF AMERICA, INC.
  8. Set a spanner wrench to the nut B so that it does not rotate, and then tighten the nut A.

    Tightening torque: 

    7.5 N.m (0.8 kgf-m, 5.5 ft-lb) 

    Fig 4: Tightening Select Cable Nut
    G06651762Courtesy of SUBARU OF AMERICA, INC.
  9. After the completion of adjustment, confirm that the select lever operates normally at all ranges.
  10. Install in the reverse order of removal.