LEMON Manuals: Even more car manuals for everyone
Home >> Subaru >> 2010 >> Outback R >> Repair and Diagnosis >> Transmission >> Transmission Control Systems >> A/T & M/T Control Systems >> MT Gear Select Cable >> Adjustment

MT Gear Select Cable: Adjustment

NOTE: To adjust the MT gear select cable, two workers are required. (Only the step  7) requires two workers.)
  1. Shift the select lever to 6th.
  2. Remove the plate cable assembly.
    Fig 1: Locating Plate Cable Bolts
    G06651768Courtesy of SUBARU OF AMERICA, INC.
  3. Disconnect the MT gear select cable.
    NOTE: To remove the MT gear select cable, push it in the direction of arrow.
    Fig 2: Identifying MT Gear Select Cable
    G06651834Courtesy of SUBARU OF AMERICA, INC.
  4. Measure the exposed length (a) of MT gear select cable.
    Fig 3: Measuring Exposed Length Of MT Gear Select Cable
    G06651819Courtesy of SUBARU OF AMERICA, INC.
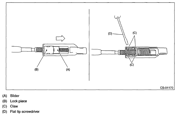
  5. With the slider (green) moved in the direction of arrow, release the lock piece (pink) using a flat tip screwdriver or equivalent tool.
    CAUTION: The lock piece is made of plastic and fragile. If the lock piece is damaged, replace the MT gear select cable with a new one.
    NOTE: Turn the MT gear select cable to 180 degrees and push and raise the claw of the lock piece by sliding the slider in the direction of arrow.
    Fig 4: Pushing Claw Of Lock Piece
    G06651836Courtesy of SUBARU OF AMERICA, INC.
  6. With the lock piece released, connect the MT gear select cable to the select lever.
    Fig 5: Connecting MT Gear Select Cable To Select Lever
    G06651837Courtesy of SUBARU OF AMERICA, INC.
  7. Operate the select lever to the Rev side, hold the lever so that the exposed length (a) of the MT gear select cable is 11 mm (0.4 in), and push in the lock piece.
    NOTE: While pulling up the gear shift lever assembly slider, operate the lever to the Rev side.
    Fig 6: Exposed Length Of MT Gear Select Cable
    G06651838Courtesy of SUBARU OF AMERICA, INC.
  8. Shifting to 5th ← → 6th, and then to Rev, check for any drag.
  9. If no abnormal condition is found for the shift and select operations, restore the vehicle.
  10. If the shift operation is not smooth, readjust the exposed length (a) of the MT gear select cable referring to the figure below.
    Fig 7: Exposed Length Of MT Gear Select Cable
    G06651839Courtesy of SUBARU OF AMERICA, INC.
    • If 5th or 6th gear cannot be selected when cable is pressed to reverse lock bracket:

      ==> Extend the exposed length (a) of MT gear select cable.

    • If select lever does not move along the cranking line when it is operated from 4th to 5th gear:

      ==> Shorten the exposed length (a) of MT gear select cable.

      NOTE: If only the cable adjustment cannot rectify the condition, replace the MT gear select cable.