LEMON Manuals: Even more car manuals for everyone
Home >> Subaru >> 2009 >> Tribeca Base >> Repair and Diagnosis >> Steering >> Power Steering >> Power Steering System >> Pipe Assembly >> Removal

Pipe Assembly: Removal

  1. Disconnect the ground cable from battery.
  2. Lift up the vehicle, and then remove the front crossmember support plate and jack-up plate.
    Fig 1: Identifying Front Crossmember Support Plate And Jack-Up Plate
    G06343816Courtesy of SUBARU OF AMERICA, INC.
  3. Remove the one pipe joint at the center of the gearbox, and connect the vinyl hose to the pipe and the joint. Discharge the fluid by turning the steering wheel fully clockwise and counterclockwise. Discharge the fluid similarly from other pipes.
    Fig 2: Locating Pipe Joint
    G06343817Courtesy of SUBARU OF AMERICA, INC.
  4. Remove the clamp E from return hose and pressure hose.
    Fig 3: Identifying Clamp E, Return Hose And Pressure Hose
    G06343818Courtesy of SUBARU OF AMERICA, INC.
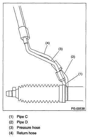
  5. Disconnect the pipe D from return hose and pipe C from pressure hose.
    Fig 4: Identifying Pipe D, Return Hose, Pipe C And Pressure Hose
    G06343819Courtesy of SUBARU OF AMERICA, INC.
  6. Remove the air intake duct. Ref. to REMOVAL , Air Intake Duct.
  7. Disconnect the suction hose and pressure hose from oil pump.
    Fig 5: Identifying Suction Hose And Pressure Hose
    G06343820Courtesy of SUBARU OF AMERICA, INC.
  8. Disconnect the suction hose and return hose from the reservoir tank.
    Fig 6: Identifying Suction Hose, Return Hose And Reservoir Tank
    G06343821Courtesy of SUBARU OF AMERICA, INC.
  9. Remove the oil cooler pipe.
    Fig 7: Locating Oil Cooler Pipe
    G05032988Courtesy of SUBARU OF AMERICA, INC.
  10. Remove the hose bracket and take out the hose assembly from vehicle.
    Fig 8: Identifying Hose Bracket And Hose Assembly
    G06343823Courtesy of SUBARU OF AMERICA, INC.