LEMON Manuals: Even more car manuals for everyone
Home >> Subaru >> 2009 >> Tribeca Base >> Repair and Diagnosis (Single Page) >> Engine Performance >> System >> Diagnostic Trouble Code (DTC) Detecting Criteria (H6DO) >> Diagnostic Trouble Code (DTC) Detecting Criteria >> DTC P0442 Evaporative Emission Control System Leak Detected (Small Leak) >> Component Description

Component Description

Pressure control solenoid valve 

PCV controls the fuel tank pressure to be equal to the atmospheric air pressure. Normally, the solenoid is set to OFF. The valve opens and closes mechanically in accordance with the pressure difference between tank and atmospheric air, or tank and canister.

The valve is forcibly opened by setting the solenoid to ON at the time of diagnosis.

Fig 1: Pressure Control Solenoid Valve Air Flow Diagram
G06342679Courtesy of SUBARU OF AMERICA, INC.

Valve Operation and Air Flow 

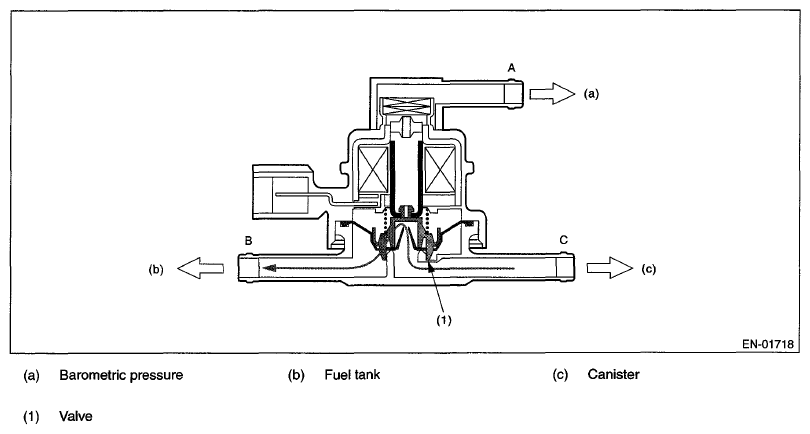
In the figure below, divided by the diaphragm, the part above X is charged with atmospheric air pressure, and the part below X is charged with tank pressure. Also, the part above Y is charged with tank pressure, and the part below Y is charged with canister pressure.

If the atmospheric air pressure port is A, tank pressure port is B, and canister pressure port is C, the air flows according to pressure difference from each port as shown in the table below.

Fig 2: Valve Operation And Air Flow Diagram
G06342680Courtesy of SUBARU OF AMERICA, INC.
CONDITION OF PRESSURE

Condition of pressure Flow
A < B (solenoid OFF) B → C
B < C (solenoid OFF) C → B
Solenoid ON B ← → C

When A < B (solenoid OFF) 

Fig 3: Pressure Control Solenoid Valve Air Flow Diagram (Solenoid OFF)
G06342681Courtesy of SUBARU OF AMERICA, INC.

When B < C (solenoid OFF) 

Fig 4: Pressure Control Solenoid Valve Air Flow Diagram (Solenoid OFF)
G06342682Courtesy of SUBARU OF AMERICA, INC.

When Solenoid is ON 

Fig 5: Pressure Control Solenoid Valve Air Flow Diagram (Solenoid ON)
G06342683Courtesy of SUBARU OF AMERICA, INC.

Drain valve 

Drain valve controls the ambient air to be introduced to the canister.

Fig 6: Drain Valve - Air Flow Diagram
G04998205Courtesy of SUBARU OF AMERICA, INC.