LEMON Manuals: Even more car manuals for everyone
Home >> Subaru >> 2009 >> Tribeca Base >> Repair and Diagnosis (Single Page) >> Accessories & Equipment >> Communication Devices >> Mechanism & Function -- LAN System >> General >> Comparison Between Can And Conventional Data Communication >> Conventional Communication

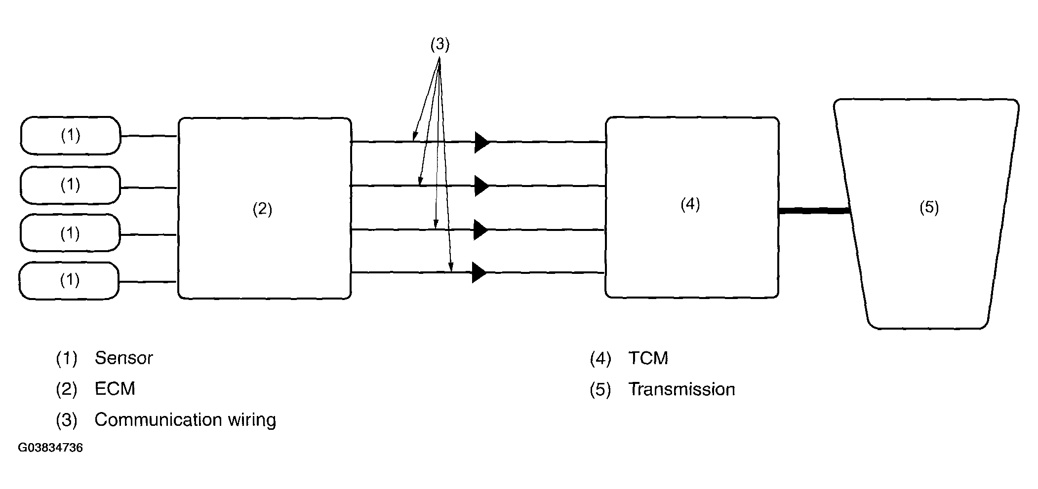
Conventional Communication

Fig 1: Conventional Communication Diagram
G03834736Courtesy of SUBARU OF AMERICA, INC.
NOTE: Conventional data communication needs as many data transmission lines as sensors used, (parallel signals)