LEMON Manuals: Even more car manuals for everyone
Home >> Subaru >> 2009 >> Outback i, Automatic >> Repair and Diagnosis >> Transmission >> Transmission Control Systems >> A/T & M/T Control Systems >> MT Gear Shift Lever >> Assembly >> 6MT Model

6MT Model

NOTE:
  • Clean all the parts before assembly.
  • Apply NIGTIGHT LYW No. 2 grease or the equivalent to each part. Ref. to 6MT GEAR SHIFT LEVER , COMPONENT, General Description.
  1. Mount the bushing and cushion rubber to the stay.
    Fig 1: Identifying Bushing, Cushion Rubber And Stay
    G06337040Courtesy of SUBARU OF AMERICA, INC.
  2. Install the bushing and spacer to boss.
    Fig 2: Identifying Bushing And Spacer
    G06337041Courtesy of SUBARU OF AMERICA, INC.
  3. Install the snap ring to gear shift lever and install the bushing.
    NOTE: Apply grease to the bushing.
    Fig 3: Identifying Snap Ring And Bushing
    G06337042Courtesy of SUBARU OF AMERICA, INC.
  4. Apply grease to the bushing and O-ring, and then install to gear shift lever.
    Fig 4: Identifying O-Ring And Bushing
    G06337043Courtesy of SUBARU OF AMERICA, INC.
  5. Apply sufficient grease to the boss, and then install the gear shift lever to the stay.
    Fig 5: Identifying Gear Shift Lever And Stay
    G05002359Courtesy of SUBARU OF AMERICA, INC.
  6. Install the washer and snap ring.
    Fig 6: Identifying Snap Ring
    G06337045Courtesy of SUBARU OF AMERICA, INC.
  7. Insert the gear shift lever and rod into boot hole.
  8. Install the rod.

    Tightening torque: 

    12 N.m (1.2 kgf-m, 8.9 ft-lb) 

    Fig 7: Identifying Rod, Lever And Stay
    G06337046Courtesy of SUBARU OF AMERICA, INC.
  9. Install the boss to the rod.

    Tightening torque: 

    12 N.m (1.2 kgf-m, 8.9 ft-lb) 

    Fig 8: Identifying Rod And Bose
    G06337047Courtesy of SUBARU OF AMERICA, INC.
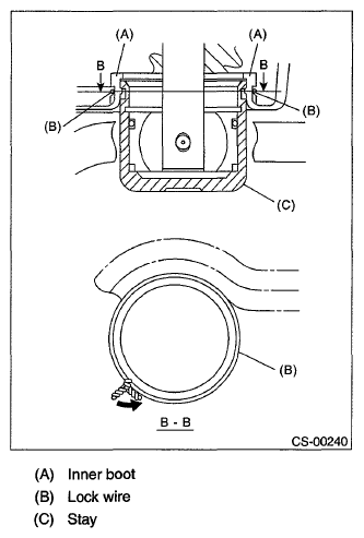
  10. Install a new lock wire.
    Fig 9: Identifying Lock Wire
    G06337048Courtesy of SUBARU OF AMERICA, INC.
    NOTE:
    • Install the lock wire to the stay groove.
    • Bend the extra wire to the same direction of lock wire winding.
      Fig 10: Installing Lock Wire To Stay Groove
      G06337049Courtesy of SUBARU OF AMERICA, INC.
  11. Install the holder.

    Tightening torque: 

    1.3 N.m (0.1 kgf-m, 1.0 ft-lb) 

    Fig 11: Identifying Holder
    G06337050Courtesy of SUBARU OF AMERICA, INC.
  12. Insert the reverse check cable into the boot hole.
  13. Insert the reverse check cable to the gear shift assembly, and affix with a band clip.
    NOTE:
    • Cut the excess band clip.
    • Make sure that the reverse check cable is inserted into the gearshift lever with no gaps.
  14. Attach the seat cushion and spring.
    Fig 12: Identifying Seat Cushion And Spring
    G06337051Courtesy of SUBARU OF AMERICA, INC.
  15. Use the spring pin to secure the end of the slider and the reverse check cable.
    NOTE: Apply grease to the moving part of slider.
    Fig 13: Identifying Slider And Spring Pin
    G06337052Courtesy of SUBARU OF AMERICA, INC.
  16. With the cable pulled (the slider is lowered), adjust the distance between the edge of cable plate and the reverse check cable to 84 mm (3.31 in), and tighten the lock nut.

    Tightening torque: 

    6 N.m (0.6 kgf-m, 4.4 ft-lb) 

    Fig 14: Identifying Distance Between Edge Of Cable Plate And Reverse Check Cable
    G06337053Courtesy of SUBARU OF AMERICA, INC.
  17. Secure the reverse check cable to the stay clip.
    NOTE: Install the reverse check cable on top of the stay.
    Fig 15: Identifying Reverse Check Cable And Clip
    G06337054Courtesy of SUBARU OF AMERICA, INC.