LEMON Manuals: Even more car manuals for everyone
Home >> Subaru >> 2009 >> Outback Limited >> Repair and Diagnosis >> Engine Performance >> Engine Control Systems >> Fuel Injection System (H4SO) >> General Description >> Components With Torque Specifications >> Fuel Pump

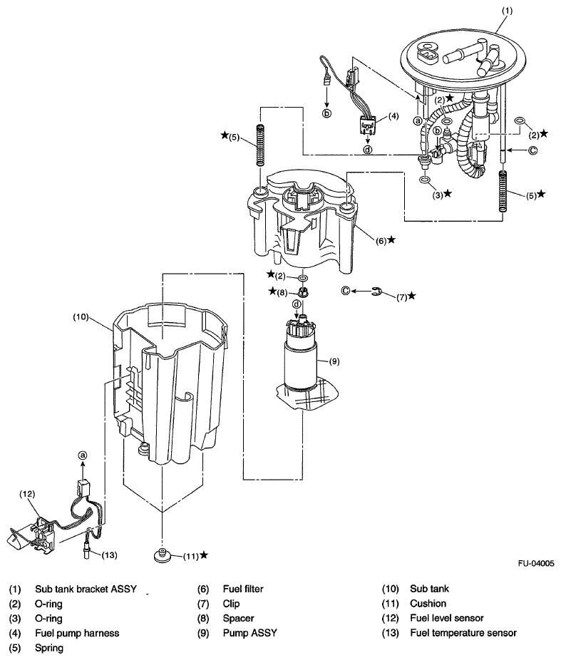
Fuel Pump

Fig 1: Identifying Fuel Pump Components And Tightening Torques
G06333948Courtesy of SUBARU OF AMERICA, INC.