LEMON Manuals: Even more car manuals for everyone
Home >> Subaru >> 2009 >> Forester XT >> Repair and Diagnosis >> Transmission >> Transmission Control Systems >> A/T & M/T Control Systems >> MT Gear Shift Lever >> Assembly

MT Gear Shift Lever: Assembly

NOTE:
  • Clean all the parts before assembly.
  • Apply NIGTIGHT LYW No. 2 grease or equivalent to each part. Refer to 5MT GEAR SHIFT LEVER , COMPONENT, General Description .
  1. Mount the bushing and cushion rubber to the stay.
  2. Fig 1: Identifying Bushing And Cushion Rubber
    G05955860Courtesy of SUBARU OF AMERICA, INC.
  3. Install the bushing and spacer to boss.
  4. Fig 2: Identifying Bushing And Spacer
    G05955861Courtesy of SUBARU OF AMERICA, INC.
  5. Using new self-locking nuts, install the boss to the joint.
    Fig 3: Identifying Self-Locking Nut And Joint
    G05955862Courtesy of SUBARU OF AMERICA, INC.
  6. Tightening torque: 12 N.m (1.2 kgf-m, 8.9 ft-lb) 

  7. Install the snap ring to gear shift lever and install the bushing.
    NOTE: Apply grease to the bushing.
    Fig 4: Identifying Snap Ring And Bushing
    G05955863Courtesy of SUBARU OF AMERICA, INC.
  8. Apply grease to the bushing and O-ring, and then install to gear shift lever.
  9. Fig 5: Identifying Bushing And O-Ring With Snap Ring
    G05955864Courtesy of SUBARU OF AMERICA, INC.
  10. Apply sufficient grease into boss, and then install the gear shift lever to the stay.
  11. Fig 6: Identifying Gear Shift Lever And Stay
    G05002345Courtesy of SUBARU OF AMERICA, INC.
  12. Install the washer and snap ring.
  13. Fig 7: Identifying Snap Ring
    G05955866Courtesy of SUBARU OF AMERICA, INC.
  14. Insert the gear shift lever and rod into boot hole.
  15. Install the rod.
  16. Tightening torque: 12 N.m (1.2 kgf-m, 8.9 ft-lb) 

    Fig 8: Inserting Gear Shift Lever And Rod Into Boot Hole
    G05955867Courtesy of SUBARU OF AMERICA, INC.
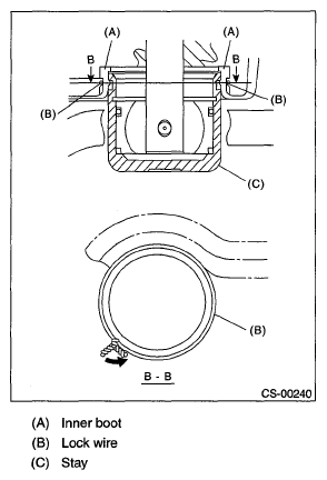
  17. Install a new lock wire.
Fig 9: Identifying Lock Wire
G05955868Courtesy of SUBARU OF AMERICA, INC.
NOTE:
  • Install the lock wire to the stay groove.
  • Bend the extra wire to the same direction of lock wire winding.
Fig 10: Identifying Inner Boot, Lock Wire And Stay
G05955869Courtesy of SUBARU OF AMERICA, INC.