LEMON Manuals: Even more car manuals for everyone
Home >> Subaru >> 2008 >> Tribeca Base >> Repair and Diagnosis >> Transmission >> Transmission Control Systems >> Automatic Transmission Control Systems >> AT Shift Lock Control System >> Wiring Diagram

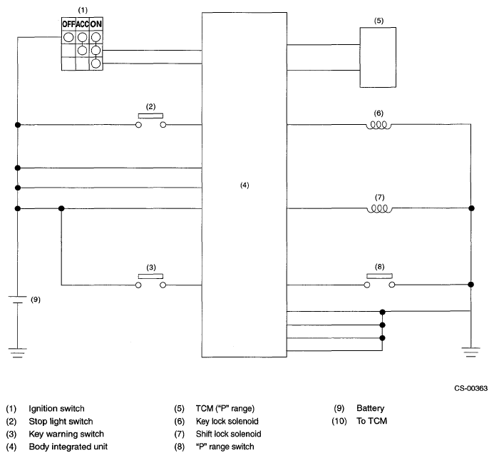
AT Shift Lock Control System: Wiring Diagram

Fig 1: AT Shift Lock Control System Wiring Diagram
G05664273Courtesy of SUBARU OF AMERICA, INC.