LEMON Manuals: Even more car manuals for everyone
Home >> Subaru >> 2008 >> Tribeca Base >> Repair and Diagnosis >> Engine Performance >> Engine Control Systems >> Fuel Injection System (H6DO) >> General Description >> Components With Torque Specifications >> Air Intake System

Air Intake System

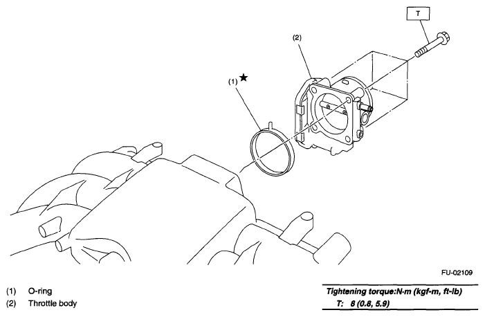
Fig 1: Exploded View Of Air Intake System Replacement Components With Torque Specifications
G05667532Courtesy of SUBARU OF AMERICA, INC.