LEMON Manuals: Even more car manuals for everyone
Home >> Subaru >> 2008 >> Tribeca Base >> Repair and Diagnosis (Single Page) >> Engine Performance >> System >> Diagnostic Trouble Code (DTC) Detecting Criteria (H6DO) >> Diagnostic Trouble Code (DTC) Detecting Criteria >> DTC P1443 Vent Control Solenoid Valve Function Problem >> Component Description

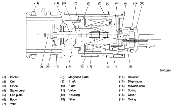
Component Description

Fig 1: Identifying Vent Control Solenoid Valve Function And Components
G05664253Courtesy of SUBARU OF AMERICA, INC.