LEMON Manuals: Even more car manuals for everyone
Home >> Subaru >> 2008 >> Tribeca Base >> Repair and Diagnosis (Single Page) >> Engine Performance >> System >> Diagnostic Trouble Code (DTC) Detecting Criteria (H6DO) >> Diagnostic Trouble Code (DTC) Detecting Criteria >> DTC P0400 Exhaust Gas RECIRCULATION Flow >> Component Description

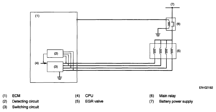
Component Description

Fig 1: Identifying Exhaust Gas Recirculation Circuit Diagram
G05664221Courtesy of SUBARU OF AMERICA, INC.