LEMON Manuals: Even more car manuals for everyone
Home >> Subaru >> 2008 >> Tribeca Base >> Repair and Diagnosis (Single Page) >> Engine Performance >> System >> Diagnostic Trouble Code (DTC) Detecting Criteria (H6DO) >> Diagnostic Trouble Code (DTC) Detecting Criteria >> DTC P0133 O2 Sensor Circuit Slow Response (Bank 1 Sensor 1) >> Component Description

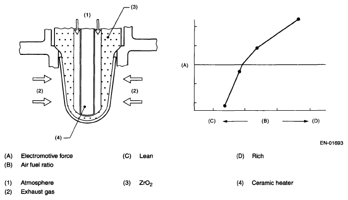
Component Description

Fig 1: Identifying O2 Sensor Circuit Slow Response (Bank 1 Sensor 1) And Output Voltage Graph
G05664194Courtesy of SUBARU OF AMERICA, INC.