LEMON Manuals: Even more car manuals for everyone
Home >> Subaru >> 2008 >> Outback Base, Standard >> Repair and Diagnosis >> Transmission >> Transmission Control Systems >> A/T & M/T Control Systems >> MT Gear Shift Lever >> Assembly >> 5MT Model

5MT Model

NOTE:
  • Clean all the parts before assembly.
  • Apply NIGTIGHT LYW No. 2 grease or equivalent to each part.
  1. Mount the bushing and cushion rubber to the stay.
    Fig 1: Identifying Bushing And Cushion Rubber
    G05666214Courtesy of SUBARU OF AMERICA, INC.
  2. Install the bushing and spacer to boss.
    Fig 2: Identifying Bushing And Spacer
    G05666215Courtesy of SUBARU OF AMERICA, INC.
  3. Using new self-locking nuts, install the boss to the joint.

    Tightening torque: 

    18 N.m (1.8 kgf-m, 13.3 ft-lb) 

    Fig 3: Identifying Boss And Joint
    G05002348Courtesy of SUBARU OF AMERICA, INC.
  4. Install the snap ring to gear shift lever and install the bushing.
    NOTE: Apply grease to the bushing.
    Fig 4: Identifying Snap Ring And Bushing
    G05666217Courtesy of SUBARU OF AMERICA, INC.
  5. Apply grease to the bushing and O-ring, and then install to gear shift lever.
    Fig 5: Identifying Snap Ring, O-Ring And Bushing
    G05666218Courtesy of SUBARU OF AMERICA, INC.
  6. Apply sufficient grease into boss, and then install the gear shift lever to the stay.
    Fig 6: Identifying Gear Shift Lever And Stay
    G05002345Courtesy of SUBARU OF AMERICA, INC.
  7. Install the washer and snap ring.
    Fig 7: Identifying Washer And Snap Ring
    G05666220Courtesy of SUBARU OF AMERICA, INC.
  8. Insert the gear shift lever and rod into boot hole.
  9. Install the rod.

    Tightening torque: 

    12 N.m (1.2 kgf-m, 8.9 ft-lb) 

    Fig 8: Identifying Rod, Lever And Stay
    G05666221Courtesy of SUBARU OF AMERICA, INC.
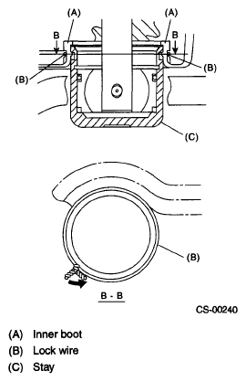
  10. Install a new lock wire.
    Fig 9: Identifying Lock Wire
    G05666222Courtesy of SUBARU OF AMERICA, INC.
    NOTE:
    • Install the lock wire to the stay groove.
    • Bend the extra wire to the same direction of lock wire winding.
      Fig 10: Identifying Inner Boot, Lock Wire And Stay
      G05666223Courtesy of SUBARU OF AMERICA, INC.