LEMON Manuals: Even more car manuals for everyone
Home >> Subaru >> 2008 >> Outback Base, Standard >> Repair and Diagnosis (Single Page) >> Engine Performance >> System >> Diagnostic Trouble Code (DTC) Detecting Criteria (H4SO) >> Diagnostic Trouble Code (DTC) Detecting Criteria >> DTC P1400 Fuel Tank Pressure Control Solenoid Valve Circuit Low >> Component Description

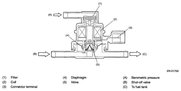
Component Description

Fig 1: Identifying Fuel Tank Pressure Control Solenoid Valve Components
G05340034Courtesy of SUBARU OF AMERICA, INC.